授权专利
一种抢救药品用储存装置
公开(公告)号: CN221163884U
摘要附图:

标题: 一种抢救药品用储存装置
专利类型: 实用新型
申请日: 2023-11-10
公开(公告)日: 2024-06-18
申请号: CN202323041474.4
发明人: 张姗
当前申请(专利权)人: 首都医科大学附属北京潞河医院
IPC分类号: B65D25/02 | B65D6/06 | B65D81/18
法律状态/事件: 授权
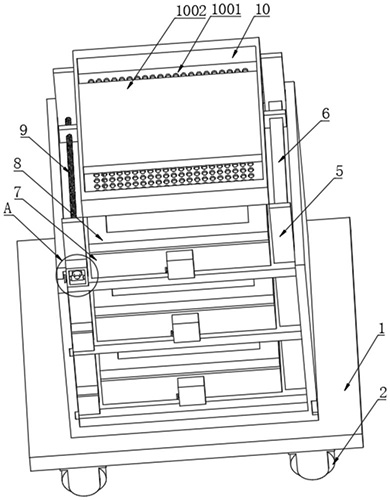
技术功效语段: [0014]1、在滑板的作用下,方便了医务人员将药品从箱体内部取出,并配合第一蜗轮以及第一蜗杆使用,可以对滑板的移出状态进行限制,进而方便了医务人员进行相应的取药工作;[0015]2、在齿轮齿条的作用下,方便了工作人员将放置槽取下,从而方便了医务人员快速拿取大量急救药品,同时配合第二蜗轮以及第二蜗杆使用,保证了卡扣对于放置槽固定的质量,进而对急救药品启动一定的保护作用;[0016]3、在制冷仓的作用下,可以对急救药品进行保温,减少了因温度过高而导致急救药品损坏的情况发生。
摘要: 本实用新型公开了一种抢救药品用储存装置,涉及医药存储设备技术领域,包括底板,底板顶部设置箱体,箱体内部通过安装板设置滑轨、螺纹杆以及壳体,箱体内部还滑动设置滑板,螺纹杆设置第一蜗轮,壳体内设置第一蜗杆,第一蜗杆与第一蜗轮相互啮合,滑板顶部还设置放置槽,滑板内设置齿轮、限位块以及齿条,齿条与齿轮相互啮合,齿条上还设置卡扣。本实用新型在滑板的作用下,方便了医务人员将药品从箱体内部取出,并配合第一蜗轮以及第一蜗杆使用,可以对滑板的移出状态进行限制,进而方便了医务人员进行相应的取药工作,在齿轮齿条的作用下,方便了工作人员将放置槽取下,从而方便了医务人员快速拿取大量急救药品。

























