授权专利
【实用新型】血糖仪护理盒
专利号:CN201921652671.0
申请日:20190929
发明人:韩春节
法律状态:授权
公开号:CN210903370U
授权公告日:2020-07-03
交易方式:转让; 许可
【摘要】:
本申请公开了一种血糖仪护理盒,包括用品存放盒,设有第一盒体和第一盒盖;第一盒体为长方形,包括第一侧板、第二侧板、第三侧板、第四侧板和第一底板;第四侧板远离第一底板一端设有多个第一磁块;第一盒盖包括顺次连接的第一边、第二边、第三边、以及第四边,第四边与第二侧板转动连接;第二边设有多个第二磁块,第二磁块与第一磁块相对设置,第一磁块与第二磁块相吸;第一盒盖远离第一盒体一侧设有第一凹槽,第一凹槽内设有第一支撑架,第一支撑架与第一盒盖转动连接,第一支撑架设置为在使用时与第一盒盖呈夹角。第一盒盖上设有支撑架,掰开后可立于桌面,用于支撑盒盖,则盒盖里面可作为操作台使用,一盒多用,更方便。
【技术领域】:
本实用新型属于医疗器械技术领域,尤其涉及一种血糖仪护理盒。
【实用新型内容】:
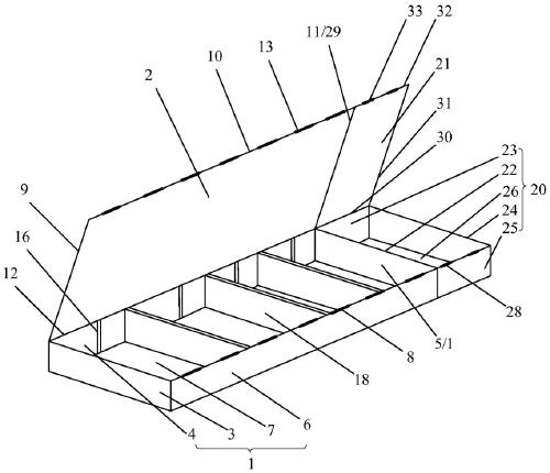
有鉴于此,本实用新型公开了一种血糖仪护理盒,包括用品存放盒,所述用品存放盒包括第一盒体和第一盒盖,所述第一盒体与所述第一盒盖转动连接,其中,
所述第一盒体为长方形,包括顺次连接的第一侧板、第二侧板、第三侧板和第四侧板,以及第一底板;所述第四侧板远离所述第一底板一端设有多个第一磁块;所述第二侧板远离所述第一底板一端与所述第一盒盖转动连接;
所述第一盒盖包括顺次连接的第一边、第二边、第三边、以及第四边,所述第四边与所述第二侧板转动连接;所述第二边设有多个第二磁块,所述第二磁块与所述第一磁块相对设置,所述第一磁块与所述第二磁块相吸;所述第一盒盖远离所述第一盒体一侧设有第一凹槽,所述第一凹槽内设有第一支撑架,所述第一支撑架与所述第一盒盖转动连接,所述第一支撑架设置为在使用时与所述第一盒盖呈夹角。
优选地,所述第一支撑架的长度等于所述第二侧板在垂直于所述第一底板方向上的长度。
优选地,所述第一支撑架在使用时与所述第一盒盖的夹角为90°。
优选地,所述第二侧板靠近所述第四侧板一侧设有多条第一卡槽,所述第四侧板靠近所述第二侧板一侧设有多条第二卡槽,所述第二卡槽与所述第一卡槽相对设置,所述第一卡槽和所述第二卡槽垂直所述第一底板;所述第一盒体内还设有多个隔板,所述隔板与所述第一卡槽和所述第二卡槽相卡合。
优选地,所述第三侧板远离所述第一侧板一侧设有滑轨,所述滑轨与所述第一底板所在平面平行。
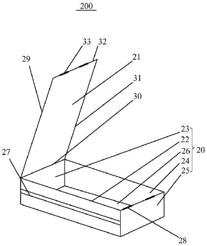
优选地,还包括废品回收盒,所述废品回收盒与所述用品存放盒可拆卸连接,所述废品回收盒包括第二盒体和第二盒盖,所述第二盒体和所述第二盒盖转动连接,其中,
所述第二盒体包括顺次连接的第五侧板、第六侧板、第七侧板和第八侧板,以及第二底板;所述第五侧板远离所述第七侧板一侧设有第三卡槽,所述第三卡槽与所述滑轨可拆卸连接;所述第八侧板远离所述第二底板一端设有多个第三磁块;所述第六侧板远离所述第二底板一端与所述第二盒盖转动连接;
所述第二盒盖包括顺次连接的第五边、第六边、第七边、以及第八边,所述第六边与所述第六侧板转动连接;所述第八边设有多个第四磁块,所述第四磁块与所述第三磁块相对设置,第四磁块与所述第三磁块相吸。
优选地,沿平行于所述第二底板所在平面的方向上,所述第五侧板的长度等于所述第三侧板的长度。
优选地,所述第一盒盖远离所述第一盒体一侧还设有第二凹槽,所述第二凹槽内设有第二支撑架,所述第二支撑架与所述第一盒体转动连接,所述第二支撑架设置为在使用时与所述第一盒盖呈夹角。
优选地,所述用品存放盒的材质为聚丙烯。
优选地,所述废品回收盒的材质为聚丙烯。
与现有技术相比,本实用新型提供的血糖仪护理盒,有如下有益效果:
第一,本实用新型中的用品存放盒的盒盖上设有支撑架,掰开后可立于桌面,用于支撑盒盖,则盒盖里面可作为操作台使用,一盒多用,更方便。
第二,本实用新型中的用品存放盒和废品回收盒的盒盖和盒体之间是磁性相吸来控制盒盖的闭合的,相较于卡扣形式,在打开时用力更小,并且在关闭盒盖时,盒盖与盒体可以自动吸合,防止没有关闭上而使盒里物品掉落。
第三,本实用新型中的用品存放盒和废品回收盒所使用的材质相较于铁盘或钢盘,重量更轻,并且所使用的材质可以承受医院高温消毒,实用性更高。
第四,本实用新型中的用品存放盒和废品回收盒可拆卸连接,当使用时可以将两者连接起来,携带方便;当不使用时可以将两者分开,直接倒出废品回收盒中的医用垃圾。
【附图】:
































