授权专利
【实用新型】一次性负压积液吸引器
专利号:CN201921996984.8
申请日:20191118
法律状态:授权
公开号:CN211410360U
授权公告日:2020-09-04
交易方式:转让; 许可
【摘要】:
本实用新型公开了一种一次性负压积液吸引器,属于医疗辅助工具技术领域,包括穿刺针、引流管和吸引器本体,吸引器本体包括通过引流管连接穿刺针的第一缸体、设于第一缸体内的第二缸体和设于第二缸体内的活塞;第一缸体顶端设有固定板;第二缸体上端面设有挡环,第二缸体靠近上端位置侧壁外圆周设有第一密封圈,发第二缸体下端面中央位置设有活塞安装孔;活塞包括由第二缸体内部经活塞安装孔穿设至第二缸体外部的推杆;推杆一端的活塞头,活塞头滑动连接在第二缸体内壁上,活塞头外圆周设有第二密封圈;推杆另一端的手柄。本实用新型公开的一次性负压积液吸引器结构合理,简化操作,便于医务人员连续抽吸积液,避免交叉感染。
【技术领域】:
本实用新型属于医疗辅助工具技术领域,尤其涉及一种一次性负压积液吸引器。
【实用新型内容】:
本实用新型为解决现有技术存在的问题而提出,其目的是提供一种结构合理,简化操作,便于医务人员连续抽吸积液,避免交叉感染的一次性负压积液吸引器。
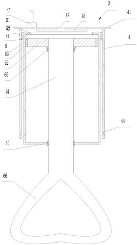
本实用新型的技术方案是:一次性负压积液吸引器,包括穿刺针、引流管和吸引器本体,所述吸引器本体包括通过引流管连接所述穿刺针的第一缸体、设于所述第一缸体内的第二缸体和设于所述第二缸体内的活塞;
所述第一缸体顶端设有固定板,所述固定板设有连接所述引流管的连接孔;
所述第二缸体上端与所述第一缸体连通,所述第二缸体侧壁内侧上端设有挡环,所述第二缸体侧壁外侧上端设有第一密封圈,所述第二缸体下端面中央位置设有活塞安装孔;
所述活塞包括由所述第二缸体内部经所述活塞安装孔穿设至所述第二缸体外部的推杆;所述推杆一端的活塞头,所述活塞头滑动连接在所述第二缸体内壁上,所述活塞头外圆周设有第二密封圈;所述推杆另一端的手柄;
其中,所述第一缸体内壁滑动连接所述第二缸体,所述第二缸体内壁滑动连接所述活塞,所述活塞头设于所述第二缸体内部,所述手柄设于所述第二缸体外部。
所述手柄为拉环或踏板。
所述固定板设有气孔,所述第一缸体内部所述固定板上设有至少一个缓冲气囊,所述缓冲气囊的气嘴与所述气孔连接并贯通。
所述第二缸体外壁上端与所述第一缸体内壁下端其中之一设有沿圆周方向设有凸环,所述第二缸体外壁上端与所述第一缸体内壁下端其中另一设有沿圆周方向的凹槽,所述凹槽与所述凸环对应设置。
所述推杆上端靠近所述活塞头位置和所述第二缸体下端面的活塞安装孔上均设有卡扣。
所述引流管上设有三通阀和流速控制器。
所述固定板的连接孔外侧设有控制开关。
所述第一缸体侧壁和第二缸体侧壁均设有沿其自身轴线方向的刻度线。
所述固定板两侧对称设有凸板,所述一次性负压积液吸引器还包括下端开口的安装座,所述安装座上端面设有用于穿设所述吸引器本体的安装孔,所述吸引器本体安装在所述安装座上时,所述凸板位挡止于所述安装座上端面上部。
本实用新型中,第二缸体外圆周设有第一密封圈、活塞头外圆周设有第二密封圈,使包括第一缸体和第二缸体间、活塞头和第二缸体间的吸引器本体内部形成密闭空间;手柄为环形、方形等便于牵引的形状;缓冲气囊可减缓负压空间内压力的急剧降低或急剧增高;第二缸体上端与第一缸体的凸环和凹槽可卡合,可避免第二缸体逆向滑动;推杆上端靠近所述活塞头位置和第二缸体活塞安装孔的卡扣可卡合,可避免推杆逆向滑动。
【附图】:





























