授权专利
【实用新型】一种腹膜透析用移动放置架
专利号:CN201921331979.5
申请日:20190815
发明人:蔡佳杰
法律状态:授权
公开号:CN211024410U
授权公告日:2020-07-17
交易方式:转让; 许可
【摘要】:
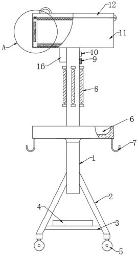
本实用新型公开了一种腹膜透析用移动放置架,包括立柱,所述立柱的底端对称安装有多个底杆,每个所述底杆的底端均安装有可制动万向轮,每个所述底杆的底部共同安装有底板,所述底板的顶壁上固定有电子秤,所述立柱的中部安装有放置盘,所述放置盘底侧的边缘处对称安装有多个挂钩,所述立柱的顶端安装有放置箱,所述放置箱的顶端通过合页转动连接有盖板。本方案的移动放置架,可对透析液及其袋体提供加热、保温功能,可对更换后的袋体进行称重,便于记录透析液的使用量,简化操作步骤,减轻医务人员的负担,提高工作效率,同时亦具有对操作空间进行紫外线消毒以及存放物品的功能。
【技术领域】:
本实用新型涉及医疗器械技术领域,尤其涉及一种腹膜透析用移动放置架。
【实用新型内容】:
本实用新型的目的是为了解决现有技术中存在的缺点,而提出的一种腹膜透析用移动放置架。
为了实现上述目的,本实用新型采用了如下技术方案:
一种腹膜透析用移动放置架,包括立柱,所述立柱的底端对称安装有多个底杆,每个所述底杆的底端均安装有可制动万向轮,每个所述底杆的底部共同安装有底板,所述底板的顶壁上固定有电子秤,所述立柱的中部安装有放置盘,所述放置盘底侧的边缘处对称安装有多个挂钩,所述立柱的顶端安装有放置箱,所述放置箱的顶端通过合页转动连接有盖板,所述放置箱的外侧包裹有第一保温棉,所述放置箱底板和侧板的内部均安装有电加热器,所述电加热器均外接电源,所述盖板的底壁上安装有第二保温棉。
优选地,所述盖板远离合页一端的底壁上嵌设有磁铁,所述放置箱远离合页一端的顶壁上同样嵌设有磁铁,两个所述磁铁相互吸引。
优选地,所述立柱靠近顶端的侧壁上安装有一个延时开关、一个计时断路器、一个蓄电池和多个紫外线灯,多个所述紫外线灯对称设置在立柱的侧壁上,所述紫外线灯、延时开关、计时断路器和蓄电池连接在同一电路内。
优选地,所述放置盘呈圆盘状,且其内侧均匀设置有多个分隔板。
优选地,所述盖板的顶壁上安装有把手。
相比于现有技术,本实用新型的有益效果在于:
本方案的移动放置架,可对透析液及其袋体提供加热、保温功能,可对更换后的袋体进行称重,便于记录透析液的使用量,简化操作步骤,减轻医务人员的负担,提高工作效率,同时亦具有对操作空间进行紫外线消毒以及存放物品的功能。
【附图】:



























