授权专利
【实用新型】一种防跌倒助力器
专利号:CN201921651074.6
申请日:20190929
发明人:李瑾
法律状态:授权
公开号:CN211132014U
授权公告日:2020-07-31
交易方式:转让; 许可
【摘要】:
本实用新型公开了一种防跌倒助力器,包括腰部固定套和支腿,腰部固定套包括第一部和第二部,第一部和第二部对称设置,第一部和第二部均为劣弧型,第一部的两端设有第一粘扣,第二部的两端设有第二粘扣,第一部和第二部可拆卸连接;支腿包括第一支腿、第二支腿、第三支腿和第四支腿,第一支腿和第二支腿的一端均与第一部固定连接,第一支腿和第二支腿的另一端设有滚轮,滚轮具有刹车装置;第三支腿和第四支腿的一端均与第二部固定连接,第三支腿和第四支腿的另一端设有滚轮,滚轮具有刹车装置。本申请中腰部固定套固定在病人腰部,腰部固定套上连接的支腿支撑病人身体,支腿上设有滚轮,在帮助病人自主行动的同时防止发生跌倒。
【技术领域】:
本实用新型涉及医疗器械领域,更具体地,涉及一种防跌倒助力器。
【实用新型内容】:
本实用新型提供了一种防跌倒助力器,包括腰部固定套和支腿,所述腰部固定套包括第一部和第二部,所述第一部和第二部对称设置,所述第一部和第二部均为劣弧型,所述第一部的两端设有第一粘扣,所述第二部的两端设有第二粘扣,所述第一部和所述第二部通过所述第一粘扣和第二粘扣可拆卸连接;
所述支腿的数量为四个,所述支腿包括第一支腿、第二支腿、第三支腿和第四支腿,其中,所述第一支腿和所述第二支腿的一端均与所述第一部固定连接,所述第一支腿和所述第二支腿的另一端设有滚轮,所述滚轮具有刹车装置;所述第三支腿和所述第四支腿的一端均与所述第二部固定连接,所述第三支腿和所述第四支腿的另一端设有滚轮,所述滚轮具有刹车装置;
所述第一支腿、第二支腿、第三支腿和第四支腿结构均相同,所述第一支腿包括第一子支腿和第二子支腿,所述第一子支腿与所述第二子支腿通过螺栓可拆卸套接,所述第一子支腿上靠近所述第二子支腿的一端设有多个第一固定孔,所述第二子支腿靠近所述第一子支腿的一端上设有多个第二固定孔,所述第一固定孔、所述第二固定孔和所述螺栓相配合。
优选地,所述第一支腿和所述第二支腿之间固定连接有第一固定杆,所述固定杆位于所述第一支腿和所述第二支腿靠近所述滚轮的一侧。
优选地,所述第三支腿和所述第四支腿之间固定连接有第二固定杆,所述第二固定杆位于所述第一支腿和所述第二支腿靠近所述滚轮的一侧。
优选地,所述第一子支腿和所述第二子支腿的横截面均为圆形。
优选地,所述第一子支腿的外径小于所述第二子支腿的内径,所述第一子支腿套接在所述第二子支腿内。
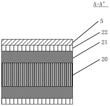
优选地,所述第一部和所述第二部均包括主体,所述主体的材质为塑料。
优选地,所述主体的外层依次包裹有记忆海绵层和棉布层,所述第一粘扣和所述第二粘扣均设置在所述棉布层上。
与现有技术相比,本实用新型提供的防跌倒助力器,至少实现了如下的有益效果:
本实用新型的防跌倒助力器包括腰部固定套和支腿,腰部固定套固定在病人腰部,腰部固定套上连接的四个支腿用以支撑病人身体,支腿上设有滚轮,在帮助病人自主行动的同时防止发生跌倒;
本实用新型的腰部固定套包括第一部和第二部,第一部和第二部之间通过粘扣可拆卸连接,第一部和第二部为劣弧型,所以根据腰围可以调节腰部固定套的大小,能够适应不同体型的病人;
本实用新型的支腿包括第一子支腿和第二子支腿,第一子支腿和第二子支腿之间通过螺栓可拆卸套接,这样用以调节支腿的高度,能够适应不同高度的病人;
本实用新型在支腿的底部滚轮设有刹车装置,帮助启停该防跌倒助力器;
本实用新型的腰部固定套中第一部和第二部均包括主体,主体外层依次包裹有记忆海绵和棉布层,能够增加腰部的舒适感。
当然,实施本实用新型的任一产品必不特定需要同时达到以上所述的所有技术效果。
通过以下参照附图对本实用新型的示例性实施例的详细描述,本实用新型的其它特征及其优点将会变得清楚。
【附图】:




























