授权专利
【实用新型】一种限制出水量的水杯
专利号:ZL202022413697.9
申请日:20201027
发明人:邵园园
法律状态:授权
公开号:CN212972612U
授权公告日:2021-04-16
交易方式:转让; 许可
【摘要】:
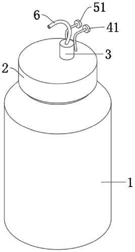
本实用新型公开了一种限制出水量的水杯,包括杯身,杯身的顶端可拆卸连接有杯盖,杯盖的内部开设有螺槽,螺槽的槽底固定设有第一水管和第二水管,第一水管和第二水管之间设有连接管,第一水管通过连接管与第二水管相互连通,第一水管的内部开设有第一水槽,第一水管的顶端开设有与第一水槽相互连通的进水口,第一水槽的内部设有浮球,第二水管的内部开设有第二水槽,第二水槽的槽底开设有相互连通的通孔,杯盖的顶面固定设有阀门,阀门的内部开设有内腔。本实用新型通过在第一水管的内部开设有第一水槽,第二水管的内部开设有第二水槽,水槽和第二水槽的容量分别为五毫升和六毫升,使得该水杯能够对病患的单次饮水量进行控制。
【技术领域】:
本实用新型涉及医护用品技术领域,更具体地,涉及一种限制出水量的水杯。
【实用新型内容】:
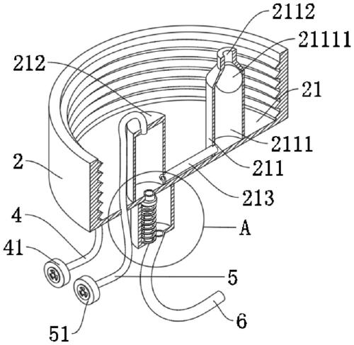
本实用新型公开了一种限制出水量的水杯,包括杯身,所述杯身的顶端可拆卸连接有杯盖,所述杯盖的内部开设有螺槽,所述螺槽的槽底固定设有第一水管和第二水管,所述第一水管和第二水管之间设有连接管,所述第一水管通过连接管与第二水管相互连通;
所述第一水管的内部开设有第一水槽,所述第一水管的顶端开设有与第一水槽相互连通的进水口,所述第一水槽的内部设有浮球,所述第二水管的内部开设有第二水槽,所述第二水槽的槽底开设有相互连通的通孔;
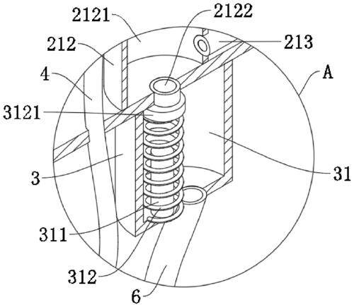
所述杯盖的顶面固定设有阀门,所述阀门的内部开设有内腔,所述第二水槽通过通孔与内腔相互连通,所述内腔的槽底固定设有限位杆,所述限位杆的外侧套接有弹簧,所述弹簧的顶端固定连接有堵块,所述堵块的顶面固定贴合在通孔的底端槽口外圈,所述阀门的顶面嵌入有与内腔相互连通的吸管。
进一步的,所述第二水管的顶端嵌入有与第二水槽相互连通的第一透气管,所述第一透气管远离第二水管的一端贯穿螺槽的槽底固定连接有第一气阀。
进一步的,所述杯盖的顶面嵌入有与螺槽相互连通的第二透气管,所述第二透气管远离杯盖的一端固定连接有第二气阀。
进一步的,所述杯身的内部开设有空槽,所述杯身顶端杯口处设有与螺槽相适配的外螺纹。
与现有技术相比,本实用新型提供的一种限制出水量的水杯,至少实现了如下的有益效果:
1、本实用新型通过在第一水管的内部开设有第一水槽,第二水管的内部开设有第二水槽,第二水槽和第一水槽的容量分别为五毫升和六毫升,使得该水杯能够对病患的单次饮水量进行控制;
2、本实用新型通过在杯盖的顶面固定设有阀门,使得该水杯能够倒置饮水,便于在躺卧状态下使用。
当然,实施本实用新型的任一产品必不特定需要同时达到以上所述的所有技术效果。
通过以下参照附图对本实用新型的示例性实施例的详细描述,本实用新型的其它特征及其优点将会变得清楚。
【附图】:




























