授权专利
【实用新型】一种无接触消毒式发药设备
专利号:ZL202022165124.9
申请日:20200928
发明人:蔡云; 成华
法律状态:授权
公开号:CN213169755U
授权公告日:2021-05-11
交易方式:转让; 许可
【摘要】:
本实用新型涉及一种无接触消毒式发药设备,包括底座(1)、门体(2)、箱体(3)和运输组件(7),运输组件(7)设置于底座(1)上,门体(2)设置于箱体(3)上,其特征在于:箱体(3)、门体(2)与底座(1)之间形成一密闭空间,还包括臭氧杀菌组件(6),臭氧杀菌组件(6)设置于箱体(3)内,以实现臭氧杀菌组件(6)对放置于运输组件(7)上的药物进行杀毒。本实用新型可避免在开放式发药及窗口式发药,可以避免细菌及病毒在这些直接接触的工作方式中传播,也可应用于除药房外,化验室递交化验单,挂号室挂号单的消毒等,因此避免了交叉感染。
【技术领域】:
本实用新型涉及医疗器械技术领域,尤其涉及一种无接触消毒式发药设备。
【实用新型内容】:
本实用新型提供一种无接触消毒式发药设备,可避免在开放式发药及窗口式发药,可以避免细菌及病毒在这些直接接触的工作方式中传播,也可应用于除药房外,化验室递交化验单,挂号室挂号单的消毒等,因此避免了交叉感染,可以有效解决背景技术中的问题。
为了解决上述技术问题,本实用新型提供的无接触消毒式发药设备的技术方案具体如下:
本实用新型实施例公开了一种无接触消毒式发药设备,包括底座、门体、箱体和运输组件,运输组件设置于底座上,门体设置于箱体上,所述箱体、所述门体与所述底座之间形成一密闭空间,还包括臭氧杀菌组件,所述臭氧杀菌组件设置于所述箱体内,以实现所述臭氧杀菌组件对放置于所述运输组件上的药物进行杀毒。
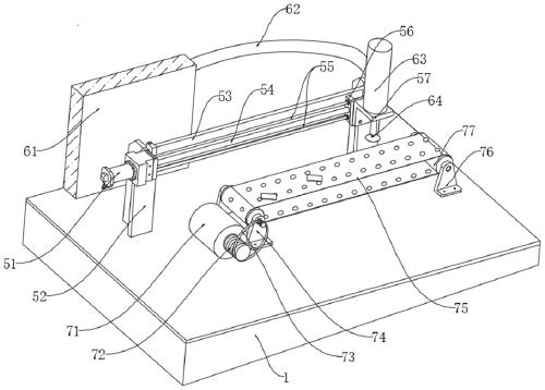
在上述任一方案中优选的是,所述臭氧杀菌组件包括臭氧机、通气管道、储气筒和喷气嘴,所述臭氧机设置于所述底座上部,所述臭氧机输出端与所述通气管道一端连通,所述通气管道另一端与所述储气筒连通,所述储气筒输出端与所述喷气嘴连接。
在上述任一方案中优选的是,所述移动组件包括驱动件、支腿、限位板、驱动螺杆、滑块和滑座,所述限位板两端分别与所述支腿连接,所述驱动件设置于所述支腿上,所述驱动件输出端与所述驱动螺杆一端连接,所述滑块设置于所述驱动螺杆上,且所述滑块与所述驱动螺杆螺纹连接,所述滑座一侧与所述滑块一侧连接,所述滑座上设置有所述储气筒,以实现所述驱动件通过所述驱动螺杆带动所述滑块和所述滑座向前或向后移动。
在上述任一方案中优选的是,所述移动组件还包括限位轴,所述限位轴两端分别与所述支腿连接,且所述滑块设置于所述限位轴上,以实现所述滑块在所述限位轴上形成滑动连接。
在上述任一方案中优选的是,所述限位轴设置有一个或两个。
在上述任一方案中优选的是,所述运输组件包括驱动电机、驱动轴、皮带、前支座、传送带、后支座、后辊轴、前辊轴和从动轴,所述驱动电机一端与所述驱动轴连接,所述前辊轴两端分别与所述前支座转动连接,所述后辊轴两端分别与所述后支座转动连接,以实现所述传送带两端分别与所述后辊轴和所述前辊轴转动连接,所述驱动轴通过所述皮带与所述从动轴转动连接,所述从动轴一端与所述前辊轴连接。
在上述任一方案中优选的是,所述前支座、所述后支座以及所述驱动电机设置于所述底座上。
在上述任一方案中优选的是,无接触消毒式发药设备,还包括鼓风机,所述鼓风机设置于所述箱体上。
在上述任一方案中优选的是,所述底座呈倾斜状,且接近于患者一端的高度低于另一端的高度。
在上述任一方案中优选的是,所述驱动件为电机。
与现有技术相比,本实用新型实施例无接触消毒式发药设备,运输组件设置于底座上,门体设置于箱体上,当使用时,打开门体,然后将需要运送的药物放置于运输组件上,即可实现将药物运输至箱体的另一端,所述箱体、所述门体与所述底座之间形成一密闭空间,还包括臭氧杀菌组件,所述臭氧杀菌组件设置于所述箱体内,以实现所述臭氧杀菌组件对放置于所述运输组件上的药物进行杀毒,通过设置臭氧杀菌组件,可以实现在密闭空间内进行杀菌消毒,从而将药物外表的细菌进行杀灭,可避免在开放式发药及窗口式发药,可以避免细菌及病毒在这些直接接触的工作方式中传播,也可应用于除药房外,化验室递交化验单,挂号室挂号单的消毒等,因此避免了交叉感染。
限位板两端分别与支腿连接,驱动件设置于所述支腿上,所述驱动件输出端与所述驱动螺杆一端连接,所述滑块设置于所述驱动螺杆上,且所述滑块与所述驱动螺杆螺纹连接,当驱动件带动驱动螺杆旋转时,可以实现驱动螺杆与滑块转动连接,从而带动滑块在驱动螺杆上前后移动,所述滑座一侧与所述滑块一侧连接,所述滑座上设置有所述储气筒,以实现所述驱动件通过所述驱动螺杆带动所述滑块和所述滑座向前或向后移动,因此在运输时,臭氧杀菌组件可以移动的对药物外表进行杀菌,因此提高了灭杀效率。
【附图】:






























