授权专利
【实用新型】一种混合痔经肛门选择性直肠粘膜切除吻合术辅助器
专利号:ZL201921667942.X
申请日:20191008
发明人:于德明; 李南
法律状态:授权
公开号:CN211325290U
授权公告日:2020-08-25
交易方式:转让; 许可
【摘要】:
本实用新型涉及吻合器痔上黏膜环切技术领域,具体为一种混合痔经肛门选择性直肠粘膜切除吻合术辅助器,包括呈带有弧度的圆柱形结构的辅助器主体,辅助器主体两端分别为头端和尾端,辅助器主体外侧壁上设有成等间距分布的长轴刻度线,尾端设有限位挡块,限位挡块另一端设有与其通过螺纹连接固定的连接杆,连接杆上远离限位挡块的一侧设有推手。该混合痔经肛门选择性直肠粘膜切除吻合术辅助器,通过设置的与直肠构造相似的呈弧形结构的辅助器主体,根据患者内痔及直肠黏膜脱垂情况,使用辅助器主体挡住直肠粘膜区域,选择性切除直肠黏膜,保留内痔及脱垂直肠粘膜之间正常直肠粘膜,解决了术后吻合口狭窄问题,提高了病人术后满意度。
【技术领域】:
本实用新型涉及吻合器痔上黏膜环切技术领域,具体为一种混合痔经肛门选择性直肠粘膜切除吻合术辅助器。
【实用新型内容】:
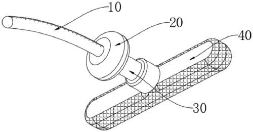
一种混合痔经肛门选择性直肠粘膜切除吻合术辅助器,包括辅助器主体,所述辅助器主体呈带有弧度的圆柱形结构,所述辅助器主体一端为呈圆弧形结构的头端,所述辅助器主体另一端为呈圆柱形结构的尾端,且所述头端和所述尾端均与所述辅助器主体呈一体成型结构,所述辅助器主体外侧壁上设有成等间距分布的长轴刻度线,所述尾端设有与其呈一体成型结构的限位挡块,所述限位挡块上靠近所述尾端一侧的边缘处设有防护倒角,且所述防护倒角呈弧型结构,所述限位挡块另一端设有与其通过螺纹连接固定的连接杆,所述连接杆上远离所述限位挡块的一侧设有推手。
优选的,所述辅助器主体长轴长度距离为11.5-12.5mm,且其直径为1-1.5mm。
优选的,所述限位挡块上远离所述尾端的一侧的中心位置开设有固定螺纹孔。
优选的,所述连接杆上靠近所述限位挡块的一侧设有与其呈一体成型结构的螺纹柱,所述螺纹柱外径尺寸与所述固定螺纹孔内径尺寸相适配并与其通过螺纹连接固定。
优选的,所述推手上靠近所述连接杆的一侧的中心位置设有与其呈一体成型结构的固定凸柱,所述连接杆的轴线与所述固定凸柱的轴线位于同一直线上,且所述连接杆固定在所述固定凸柱上。
优选的,所述推手上远离所述连接杆的一侧及其侧壁上设有防滑套。
与现有技术相比,本实用新型的有益效果是:
该混合痔经肛门选择性直肠粘膜切除吻合术辅助器,通过设置的与直肠构造相似的呈弧形结构的辅助器主体,根据患者内痔及直肠黏膜脱垂情况,使用辅助器主体挡住直肠粘膜区域,选择性切除直肠黏膜,保留内痔及脱垂直肠粘膜之间正常直肠粘膜,明显解决了术后吻合口狭窄问题,极大提高了病人术后满意度。
【附图】:
































