授权专利
【实用新型】一种踝关节固定加压冷敷支具
专利号:ZL202020626752.X
申请日:20200423
发明人:詹云佳; 张亚奎; 王雪飞; 龙安华; 韩大成; 李杨
法律状态:授权
公开号:CN212816694U
授权公告日:2021-03-30
交易方式:转让; 许可
【摘要】:
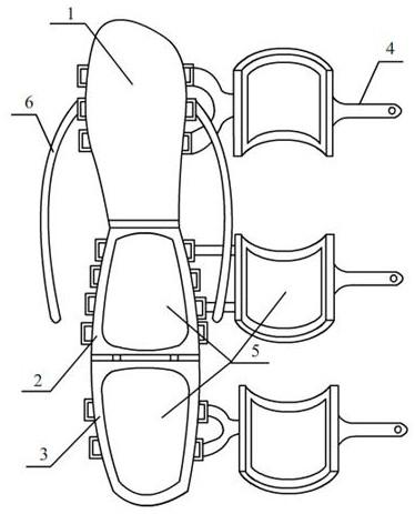
本实用新型公开了一种踝关节固定加压冷敷支具,所述支具包括足部固架、踝部固架以及小腿固架;所述踝部固架和小腿固架为一体式结构,踝部固架前端与足部固架活动连接;上述固架均由底板和压板两部分活动连接组成,底板和压板连接段采用活动连接结构,底板和压板的封口段采用绑绳或穿带进行固定;在每个固架底板内表面设有冰袋套,在冰袋套内部置入可塑形冰袋。本实用新型具有固定、制动等功能,能够限制受伤踝关节活动、加快踝关节扭伤或骨折的康复进程的具有等优点。
【技术领域】:
本实用新型涉及临床医疗领域,尤其是一种骨关节整固装置或工具。
【实用新型内容】:
本实用新型目的在于提供一种具有固定、制动功能、能够限制受伤踝关节活动、加快踝关节扭伤或骨折的康复进程的踝关节固定加压冷敷支具。
为实现上述目的,采用了以下技术方案:本实用新型所述支具包括足部固架、踝部固架以及小腿固架;所述踝部固架和小腿固架为一体式结构,踝部固架前端与足部固架活动连接;上述固架均由底板和压板两部分活动连接组成,底板和压板连接段采用活动连接结构,底板和压板的封口段采用绑绳或穿带进行固定;在每个固架底板内表面设有冰袋套,在冰袋套内部置入可塑形冰袋。
进一步的,所述足部固架的底板为平板结构,压板采用弧形板结构。
进一步的,所述踝部固架、小腿固架的底板采用弧形板结构,踝部固架、小腿固架的压板采用弧形板结构。
进一步的,所述踝部固架、小腿固架为两段式活动连接结构。
进一步的,在小腿固架的压板内侧设置冰袋套,在冰袋套内置入可塑形冰袋。
进一步的,在踝部固架的压板内侧设置冰袋套,在冰袋套内置入可塑形冰袋。
进一步的,所述足部固架的底板两侧连接绑带。
与现有技术相比,本实用新型具有如下优点:
1、整体上采用解剖型踝关节固定支架的结构设计,通过解剖型铝板使骨折部位维持较好的复位。
2、固定支具中的冰袋采用可拆卸和可替换的结构,实现冰敷用冰袋根据实际使用情况的方便更换。
3、可广泛应用于踝部损伤处置,尤其是踝关节骨折脱位处置。
4、能够使冰袋很好的与踝关节皮肤接触,做到完全贴合,并且有加压冷敷的作用,达到冷敷消肿的目的,且冰袋是放在冰袋套中,方便取用避免交叉感染。
【附图】:



























