授权专利
【实用新型】一种防压疮护理装置
专利号:ZL202020961808.7
申请日:20200529
发明人:王晓丹
法律状态:授权
公开号:CN213130444U
授权公告日:2021-05-07
交易方式:转让; 许可
【摘要】:
本实用新型提供了一种防压疮护理装置,属于医疗用品技术领域。该防压疮护理装置包括腿部支撑组件、按摩组件以及脚部支撑组件。所述第一连接杆连接在所述第一底板的一侧,所述放置板连接在所述第二支撑杆的上方,所述伸缩件连接在所述第一底板的上表面,所述伸缩件的输出端与所述放置板连接,所述垫块固定放置在所述放置板上。所述支撑板的两端与所述垫块的内部连接,所述微型电机连接在所述支撑板的下表面,所述连杆与所述微型电机的输出端固定连接,所述支杆滑动连接在所述连杆的上方,所述固定盘连接在所述支杆的上方,所述按摩头与所述固定盘连接,改善了气垫床对长期受压部位缓解不明显,没有起到治疗作用的问题。
【技术领域】:
本实用新型涉及医疗用品技术领域,具体而言,涉及一种防压疮护理装置。
【实用新型内容】:
本实用新型提供一种防压疮护理装置包括腿部支撑组件、按摩组件以及脚部支撑组件。
所述腿部支撑组件包括第一底板、第一连接杆、第一支撑杆、第二支撑杆、放置板、伸缩件以及垫块,所述第一连接杆连接在所述第一底板的一侧,所述第一连接杆连接在所述第一底板的上方,所述第二支撑杆滑动连接在所述第一支撑杆的上方,所述放置板连接在所述第二支撑杆的上方,所述伸缩件连接在所述第一底板的上表面,所述伸缩件的输出端与所述放置板连接,所述垫块固定放置在所述放置板上。
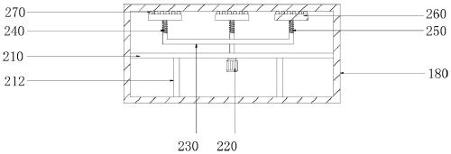
所述按摩组件包括支撑板、微型电机、连杆、支杆、固定盘以及按摩头,所述支撑板、所述微型电机、所述连杆、所述支杆、所述固定盘以及所述按摩头设置在所述垫块的内部,所述支撑板的两端与所述垫块的内部连接,所述微型电机连接在所述支撑板的下表面,所述连杆与所述微型电机的输出端固定连接,所述支杆滑动连接在所述连杆的上方,所述固定盘连接在所述支杆的上方,所述按摩头与所述固定盘连接。
所述脚部支撑组件包括第二底板、第二连接杆、限位块、固定杆、滑动块、移动杆、缓冲件、伸缩杆以及托板,所述第二连接杆的一端连接在所述第二底板的一侧,所述所述第二连接杆的另一端与所述第一连接杆连接,所述限位块设置在所述第二底板的两端,所述固定杆的两端与所述限位块连接,所述滑动块套接在所述固定杆的外表面,所述移动杆的一端与所述滑动块铰接,所述缓冲件连接在所述限位块的上方,所述伸缩杆的一端连接在所述缓冲件的内部,所述托板连接在所述伸缩杆与所述伸缩杆之间,所述托板连接在所述伸缩杆的上端,所述托板的底端与所述移动杆铰接。
在本实用新型的一种实施例中,所述第一连接杆上开设有第一凹槽,所述第二连接杆上开设有第二凹槽。
在本实用新型的一种实施例中,所述第一凹槽与所述第二凹槽之间连接有销钉,所述第一底板与所述第二底板之间通过所述销钉进行连接。
在本实用新型的一种实施例中,所述垫块的两侧设置有定位板,所述定位板连接在所述第一底板的上表面,所述定位板的上端设置有防护垫,所述垫块的上方两端连接有挡垫,所述垫块的上表面覆盖有防水棉层。
在本实用新型的一种实施例中,所述支撑板的下方设置有底杆,所述底杆的一端与所述支撑板连接,所述底杆的另一端连接在所述垫块的内部底端。
在本实用新型的一种实施例中,所述支杆的外表面缠绕有第一弹簧,所述第一弹簧的一端与所述固定盘连接,所述第一弹簧的另一端与所述连杆连接。
在本实用新型的一种实施例中,所述固定杆与所述滑动块之间设置有第二弹簧,所述第二弹簧缠绕在所述固定杆的外表面。
在本实用新型的一种实施例中,所述缓冲件包括缓冲壳体、第三弹簧以及滑动板,所述缓冲壳体连接在所述限位块的上方,所述第三弹簧设置在所述缓冲壳体的内部,所述滑动板的一端与所述第三弹簧连接,所述滑动板的另一端与所述伸缩杆连接,所述所述滑动板的两侧与所述缓冲壳体的内壁滑动连接。
在本实用新型的一种实施例中,所述伸缩杆包括第一杆体、第二杆体以及调节螺栓,所述第一杆体连接在所述滑动板的上表面,所述第二杆体滑动连接在所述第一杆体的上方,所述调节螺栓连接在所述第一杆体靠近所述第二杆体的一端。
在本实用新型的一种实施例中,所述托板的表面设置有防护棉,所述托板的底端设置有连接块,所述连接块与所述移动杆进行铰接。
本实用新型的有益效果是:本实用新型通过上述设计得到的一种防压疮护理装置,使用时,根据患者的实际情况调节腿部支撑组件100和脚部支撑组件300之间的距离,通过调节伸缩杆380的高度,从而调节托板390的高度,然后再通过启动伸缩件170对垫块180的高度进行调节,满足患者实际的使用高度之后,将患者的腿部放置在垫块180上,脚部放置在托板 390上,使得腿部和脚部可以不用与床之间发生长时间的挤压,同时通过微型电机220带动固定盘260和按摩头270进行转动,增大了对患者腿部按摩的范围。通过对患者腿部进行按摩能够加快血液循环,加快组织代谢速率使得长期受压部位得到快速的缓解,即有利于防止压疮的形成,也有利于压疮的消除。
【附图】:





























