授权专利
【实用新型】一种防刺伤污物碗
专利号:ZL202021255140.0
申请日:20200630
发明人:邢春艳
法律状态:授权
公开号:CN213099019U
授权公告日:2021-05-04
交易方式:转让; 许可
【摘要】:
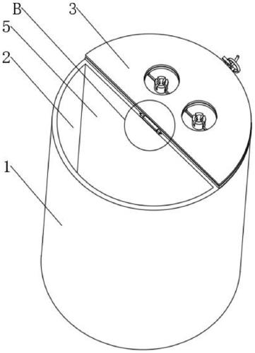
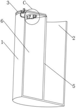
本实用新型公开了一种防刺伤污物碗,涉及到污物碗领域,包括污物碗本体(1),污物碗本体(1)呈无上表面的圆筒状结构,污物碗本体(1)的中间位置设有隔板(5),隔板(5)将污物碗本体(1)隔成一号收纳槽(2)、二号收纳槽(6),克服了单人皮下注射或肌内注射后注射器针头放置的问题,解决了徒手处理注射针头的问题,避免了处理用物的二次分拣,有效的减少临床操作中的职业暴露,同时本装置的设计基于普通污物碗之上,更能很好匹配现有的治疗盘内,其结构简化,安全性高,便于操作;锐器处理块能够良好的将针管和枕头分离,方便分别收纳;转动挡板起到进一步防止针头等锐器掉出的现象,起到良好的保护作用。
【技术领域】:
本实用新型涉及污物碗领域,特别涉及一种防刺伤污物碗。
【实用新型内容】:
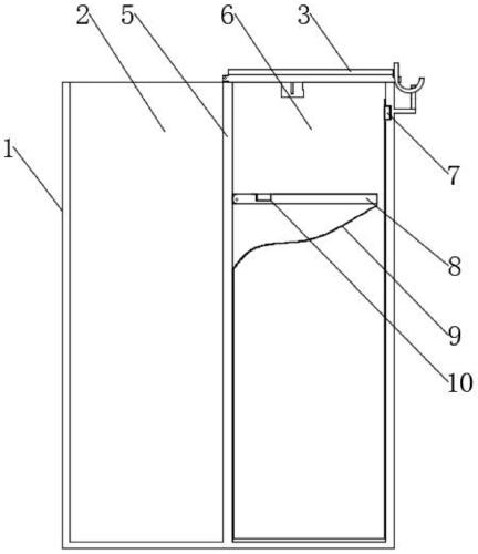
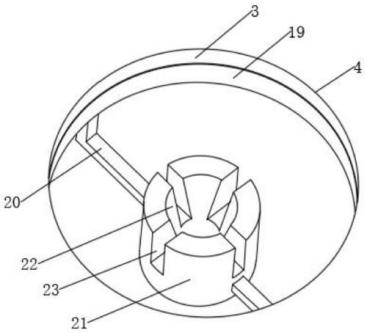
本实用新型提供如下技术方案:一种防刺伤污物碗,包括污物碗本体,所述污物碗本体呈无上表面的圆筒状结构,污物碗本体的中间位置设有隔板,隔板将污物碗本体隔成一号收纳槽、二号收纳槽,所述一号收纳槽的上端开口,二号收纳槽的上端设有上盖,所述上盖上设有投掷口,所述投掷口中设有锐器处理块,所述上盖的一端固定焊接有铰接板,所述隔板的上表面固定焊接有两组铰接座,所述铰接板通过转动轴活动铰接在两组铰接座之间,所述上盖的另一端通过卡扣机构与污物碗本体之间固定。
优选的,所述投掷口呈圆孔状结构,所述上盖的下表面固定设有橡胶密封垫。
优选的,所述锐器处理块呈圆柱形,锐器处理块的表面设有上下贯穿的卡槽,卡槽的上端直径大、下端直径小,所述锐器处理块的表面设有十字槽。
优选的,所述锐器处理块的底部与上盖的底部之间通过支架固定连接,所述锐器处理块和投掷口之间设有间隙。
优选的,所述卡扣机构包括固定设置在上盖上的卡勾移动板与固定设置在污物碗本体外圈的卡环固定板,所述卡环固定板的外端一体设有卡环,所述卡勾移动板上活动穿过卡勾,所述卡勾呈J字形结构,卡勾的上端一体设有上限位板,所述卡勾的下端活动勾在卡环的上部。
优选的,所述二号收纳槽的上端内部设有转动挡板,所述转动挡板的一端和污物碗本体的内壁之间留有间隙,转动挡板的另一端通过铰接轴活动铰接在隔板的内壁上,且铰接位置固定设有供转动挡板保持与上盖平行的扭簧。
优选的,所述转动挡板的表面和污物碗本体的侧面均设有不锈钢槽,所述转动挡板下方的二号收纳槽中设置有收纳袋,所述收纳袋的上端贴合在污物碗本体的侧面和转动挡板的上表面,所述收纳袋的上端通过不锈钢槽中的磁性吸块吸附固定在不锈钢槽中。
本实用新型的技术效果和优点:
1、本实用新型的一种防刺伤污物碗,克服了单人皮下注射或肌内注射后注射器针头放置的问题,解决了徒手处理注射针头的问题,避免了处理用物的二次分拣,有效的减少临床操作中的职业暴露,同时本装置的设计基于普通污物碗之上,更能很好匹配现有的治疗盘内,其结构简化,安全性高,便于操作;
2、本实用新型的一种防刺伤污物碗,锐器处理块能够良好的将针管和枕头分离,方便分别收纳;
3、本实用新型的一种防刺伤污物碗,转动挡板起到进一步防止针头等锐器掉出的现象,起到良好的保护作用。
【附图】:

































