授权专利
【实用新型】一种便于更换床单的升降式护理床
专利号:ZL202020638639.3
申请日:20200424
发明人:谢海玉
法律状态:授权
公开号:CN212490481U
授权公告日:2021-02-09
交易方式:转让; 许可
【摘要】:
本实用新型提供一种便于更换床单的升降式护理床。便于更换床单的升降式护理床包括床体、升降机构、夹持机构和开闭机构,床体的顶部转动连接有对称设置的第一床板和第二床板,气缸固定安装在床体的内底壁上,升缩杆与气缸的输出端固定连接,两组升缩杆的顶部分别与第一床板和第二床板的底部滑动连接,四组结构相同的滑杆分别对称安装在第一床板和第二床板的顶部便于处,压板滑动连接在滑杆的杆壁上,弹簧串接在滑杆的杆壁上,开闭机构安装在第一床板和第二床板上。本实用新型提供的便于更换床单的升降式护理床具有能够在更换床单时患者不用下床,避免对患者造成二次伤害的优点。
【技术领域】:
本实用新型涉及医疗设备技术领域,尤其涉及一种便于更换床单的升降式护理床。
【实用新型内容】:
(一)解决的技术问题
本实用新型解决的技术问题是提供一种能够在更换床单时患者不用下床,避免对患者造成二次伤害的便于更换床单的升降式护理床。
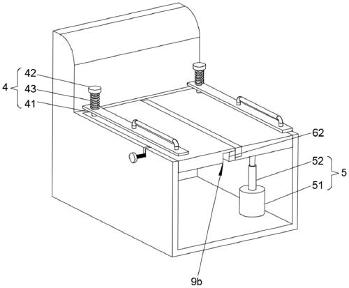
为解决上述技术问题,本实用新型提供的便于更换床单的升降式护理床包括:床体,所述床体的顶部转动连接有对称设置的第一床板和第二床板;升降机构,所述升降机构设为两组,所述升降机构包括气缸和升缩杆,所述气缸固定安装在床体的内底壁上,所述升缩杆与气缸的输出端固定连接,两组所述升缩杆的顶部分别与第一床板和第二床板的底部滑动连接;夹持机构,所述夹持机构包括压板、滑杆和弹簧,四组结构相同的滑杆分别对称安装在第一床板和第二床板的顶部便于处,所述压板滑动连接在滑杆的杆壁上,所述弹簧串接在滑杆的杆壁上;开闭机构,所述开闭机构安装在第一床板和第二床板上。
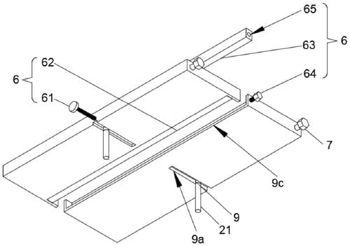
优选的,所述开闭机构包括丝杆、第一挡块、第二挡块、固定螺栓和固定孔,所述第一床板的侧壁上开设与第一安装槽,所述第二床板的侧壁上开设有第二安装槽,所述丝杆螺纹连接在第一床板的侧壁上,所述床体的侧壁上开设有用于丝杆翻转的活动槽,所述第一挡块滑动连接在第一安装槽的内侧壁上,且所述第一挡块与丝杆置于第一安装槽内部的旋入端转动连接,所述固定螺栓螺纹连接在第二床板的侧壁上,所述第二挡块滑动连接在第二安装槽的内部,且所述第二挡块的侧壁上开设有与固定螺栓相配合的固定孔,便于第一床板和第二床板合并时可以留出空间放置将床单夹住。
优选的,所述升缩杆的顶部固定安装有滚球,所述第一床板和第二床板的底部均开设与滚球相配合的滑槽,所述滚球滑动连接在滑槽的内部,便于升降机构带动第一床板和第二床板上下翻转。
优选的,所述第一床板和第二床板均通过转轴与床体的内侧壁转动连接,便会第一床板和第二床板能够被带动翻转。
优选的,所述弹簧的一端与压板的顶部固定连接,所述弹簧的另一端与滑杆的顶部固定连接,防止弹簧出现窜动现象。
优选的,所述压板的顶部固定安装有把手,便于将压板向上拉起。
与相关技术相比较,本实用新型提供的便于更换床单的升降式护理床具有如下有益效果:
本实用新型提供一种便于更换床单的升降式护理床,患者躺在病床上当需要更换床单时,患者翻滚动到第二床板上,然后打开第一床板上的夹持机构将被固定在第一床板上的床单松开,然后通过升降机构下降从而带动第一床板向床腿内部下翻转,然后再向上翻转复位此时患者再滚回第一床板上,然后再通过升降机构带动第二床板向下翻转,此时打开第二床板上的夹持机构将床单松开,便可以把床单取下,再带动第二床板向上翻转复位,从而能够在更换床单时患者不用下床,避免对患者造成二次伤害。
【附图】:





























