授权专利
【实用新型】一种便携外固定架撑开及加压装置
专利号:ZL202020304861.X
申请日:20200312
法律状态:授权
公开号:CN212592367U
授权公告日:2021-02-26
交易方式:转让; 许可
【摘要】:
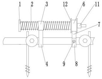
本实用新型公开了一种便携外固定架撑开及加压装置,包括:固定座、第一螺纹杆、螺母、驱动杆、转动座、转动环、固定杆、U型夹板、第二螺纹杆、固定板及驱动件;所述第一螺纹杆设置于所述固定座上,与所述第一螺纹杆相匹配的螺母设置于所述第一螺纹杆上, 两个所述驱动杆设置于所述螺母上,两个所述驱动杆之间形成容纳腔,本实用新型将U型夹板固定于外固定架上,驱动杆的容纳腔插入外固定架,旋转第一螺纹杆,第一螺纹杆通过螺母实现驱动杆纵向位移,能够精确控制撑开或者加压的距离,从而实现外固定针之间的加压或撑开效果,本装置设计可通用于市场上大部分的外固定架连杆,操作方便,使用简单。
【技术领域】:
本实用新型涉及医疗技术领域,具体而言,是一种便携外固定架撑开及加压装置。
【实用新型内容】:
本实用新型公开了一种便携外固定架撑开及加压装置,包括:固定座、第一螺纹杆、螺母、驱动杆、转动座、转动环、固定杆、U型夹板、第二螺纹杆、固定板及驱动件;
所述第一螺纹杆设置于所述固定座上,与所述第一螺纹杆相匹配的螺母设置于所述第一螺纹杆上,两个所述驱动杆设置于所述螺母上,两个所述驱动杆之间形成容纳腔,所述转动座设置于所述第一螺纹杆远离所述固定座一侧,所述转动环套装于所述转动座上,所述固定杆设置于所述转动环上,所述U型夹板设置于所述固定杆上,所述U型夹板一侧壁面上开设有螺纹孔,所述第二螺纹杆穿过所述螺纹孔设置于所述U型夹板内,所述固定板设置于所述第二螺纹杆上,位于所述U型夹板内,所述驱动件设置于所述转动座上。
优选的,所述驱动件为外四边形或外六边形通用螺尾。
优选的,所述第一螺纹杆螺纹长度为20-50mm,螺距为2-5mm。
优选的,所述第一螺纹杆螺纹长度为35mm,螺距为3mm。
优选的,所述转动座两侧设置有挡片,位于所述转动环两侧。
本实用新型提供了一种便携外固定架撑开及加压装置。具备以下有益效果:将U型夹板固定于外固定架上,驱动杆的容纳腔插入外固定架,旋转第一螺纹杆,第一螺纹杆通过螺母实现驱动杆纵向位移,能够精确控制撑开或者加压的距离,从而实现外固定针之间的加压或撑开效果,本装置设计可通用于市场上大部分的外固定架连杆,操作方便,使用简单。
【附图】:



























