授权专利
【实用新型】一种安全剪钳
专利号:ZL202020936239.0
申请日:20200528
发明人:闫永思
法律状态:授权
公开号:CN212265580U
授权公告日:2021-01-01
交易方式:转让; 许可
【摘要】:
一种安全剪钳,包括手柄一、手柄二、剪刀左刃、剪刀右刃,剪刀左刃与剪刀右刃活动铰接,手柄一设置在剪刀左刃尾端,手柄二设置在剪刀右刃尾端,剪刀左刃头端设置钳头二,剪刀右刃头端设置钳头一,钳头一与钳头二随剪刀右刃和剪刀左刃的张合而同步运动。本装置使用中,可以通过剪刀部分毁型,使用钳子部分拔除输液瓶上的针头,使用方便,一物多用,减少血源性病原体传播疾病的风险。
【技术领域】:
本实用新型涉及医用器械,更具体的说是一种安全剪钳。
【实用新型内容】:
本实用新型主要解决的技术问题是提供一种安全剪钳,本装置在做废弃输液器毁型分类处理的过程中,用剪刀部分毁型,用钳子部分拔除输液瓶上的针头,减少血源性病原体传播疾病的风险。
本实用新型的目的通过以下技术方案来实现:
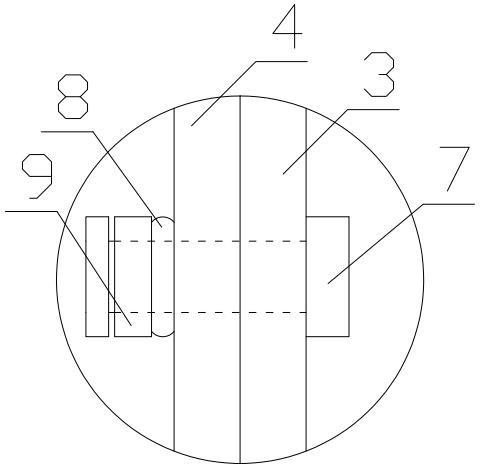
本实用新型的一种安全剪钳,包括手柄一、手柄二、剪刀左刃、剪刀右刃,剪刀左刃与剪刀右刃活动铰接,手柄一设置在剪刀左刃尾端,手柄二设置在剪刀右刃尾端,剪刀左刃头端设置钳头二,剪刀右刃头端设置钳头一,钳头一与钳头二随剪刀右刃和剪刀左刃的张合而同步运动。
本实用新型还可以采用以下技术措施:
所述的钳头一和钳头二均为圆环形。
所述的钳头一和钳头二的相对面上均设置夹持齿。
所述的剪刀左刃和剪刀右刃通过螺钉和螺母铰接,螺钉同时穿过剪刀左刃和剪刀右刃上设置的通孔,螺母与螺钉螺纹连接;螺母与剪刀右刃之间设置胶圈,螺钉由胶圈中穿过。
所述的手柄一和手柄二的外表面均设置防滑纹。
本实用新型一种安全剪钳的有益效果为:
1.本装置同时具备剪和夹的功能,便于处理废弃输液器,加强操作人员的安全。
2.夹持齿可防止夹取的物品滑落,增大局部摩擦力。
3.钳头一和钳头二为圆环形设计,增加拔针时的着力点,夹取时更加的稳定。
4.通过螺钉、胶圈和螺母可调整剪刀左刃和剪刀右刃之间的松紧,可根据实际使用情况进行调整。
【附图】:




























