授权专利
【实用新型】一种CT检查下肢负重牵引器
专利号:ZL202021337717.2
申请日:20200709
发明人:张志鹏; 魏超群
法律状态:授权
公开号:CN213155962U
授权公告日:2021-05-11
交易方式:转让; 许可
【摘要】:
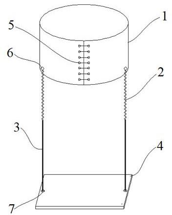
本实用新型涉及医疗器械领域,尤其涉及一种CT检查下肢负重牵引器,包括:固定带、弹性部件、牵拉部件和踩踏部件;其中,所述固定带的两端设置连接部件,将固定带围绕在人员腰部后通过连接部件将固定带的两端连接在一起后,从而使固定带绑在腰部。所述弹性部件和牵拉部件均为两组,分布在固定带的两侧,其中,弹性部件的一端固定在所述固定带上,弹性部件的另一端与牵拉部件固定,牵拉部件与所述踩踏部件固定。本实用新型的这种下肢负重牵引器能够简单快捷地使患者下肢处于负重状态,然后用普通螺旋CT进行扫描即可得到下肢负重的图像,从而在卧位状态下真实、完全、准确模拟站立位负重状态,数值准确、可监控、重复性强。
【技术领域】:
本实用新型涉及医疗器械领域,尤其涉及一种CT检查下肢负重牵引器。
【实用新型内容】:
本实用新型提供了一种CT检查下肢负重牵引器,这种牵引器能够简单快捷地使普通CT机扫描得到下肢负重状态CT检查,给临床医生更准确可靠的CT影像,对诊断和术前评估起到更好的帮助。为实现上述目的,本实用新型的技术方案如下。
一种CT检查下肢负重牵引器,包括:固定带、弹性部件、牵拉部件和踩踏部件;其中,所述固定带的两端设置连接部件,将固定带围绕在人员腰部后通过连接部件将固定带的两端连接在一起后,从而使固定带绑在腰部。所述弹性部件和牵拉部件均为两组,分布在固定带的两侧,其中,弹性部件的一端固定在所述固定带上,弹性部件的另一端与牵拉部件固定,牵拉部件与所述踩踏部件固定。
进一步地,所述固定带为柔性结构,其两端的连接部件为绑带或绑绳,或者,所述连接部件为粘贴,通过将所述绑带或绑绳系在一起或者将粘贴粘在一起实现固定带两端的连接。
进一步地,每组所述弹性部件包括1~3个弹簧,优选为金属弹簧,可以根据被检查人员的腿部力气选择数量。弹性部件的主要用于使被检查人员的腿部能够处于负重状态。
进一步地,所述弹性部件靠近牵拉部件的一端不能超过膝关节,优选地,弹性部件的长度为15~25cm。
进一步地,所述牵拉部件为绳子,如尼龙绳等,其主要作用是将弹性部件和踩踏部件连接在一起。
进一步地,所述踩踏部件包括塑料板、木板等任意适合的板状结构,其主要用于被检查人员脚部的踩踏,使弹性部件被拉伸,进而通过弹性部件的回复力使使被检查人员的腿部处于负重状态。
进一步地,所述踩踏部件上还设置有凹槽,其可以使脚部放入其中,防止踩踏过程中脚部在踩踏部件上打滑。
进一步地,还包括辅助绳,所述辅助绳的一端与踩踏板连接,辅助绳的另一端与牵拉部件连接且与牵拉部件之间具有夹角,且每个牵拉部件的两侧对称地分布有辅助绳。
与现有技术相比,本实用新型具有以下有益效果:(1)本实用新型的这种下肢负重牵引器能够简单快捷地使患者下肢处于负重状态,然后用普通螺旋CT进行扫描即可得到下肢负重的图像,从而卧位状态下真实、完全、准确模拟站立位负重状态,数值准确、可监控、重复性强。(2)本实用新型的这种下肢负重牵引器能够主动让自身肌肉参与,更能真实的反映站立位负重状态,得到足、踝关节、膝关节的CT负重图像。(3)本实用新型的这种牵引器可以重复使用,操作简单,安全可靠,并且适用于绝大多数医院的现有CT设备,无需更换设备,显著降低了成本。
【附图】:




























