授权专利
【实用新型】新生儿尿液留取装置
专利号:ZL202021194410.1
申请日:20200624
发明人:石瑞娟
法律状态:授权
公开号:CN212340761U
授权公告日:2021-01-12
交易方式:转让; 许可
【摘要】:
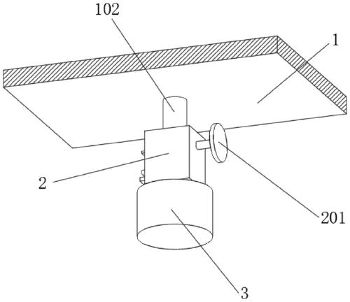
本实用新型公开了新生儿尿液留取装置,涉及新生儿护理领域。该新生儿尿液留取装置包括护理床主体,所述护理床主体的顶部开设有软管插孔,所述护理床主体的底部固定连接有固定管,所述固定管的底部固定连接有安装座,所述安装座上固定安装有阀门主体,所述安装座的侧壁开设有插槽,所述插槽内活动插接有卡板,所述卡板的底部固定连接有连接管,所述连接管的底部固定连接有收集筒,所述卡板的顶部开设有两组锁紧孔,所述安装座的侧壁设有与卡板相对应的卡紧机构。该新生儿尿液留取装置实现对尿液的收集,收集筒可快速安装或取下,进而便于对收集筒进行更换,即便于将新生儿的尿液取出进行检验。
【技术领域】:
本实用新型涉及新生儿护理技术领域,具体为新生儿尿液留取装置。
【实用新型内容】:
(一)解决的技术问题
针对现有技术的不足,本实用新型公开了新生儿尿液留取装置,以解决上述背景技术中提出的问题。
(二)技术方案
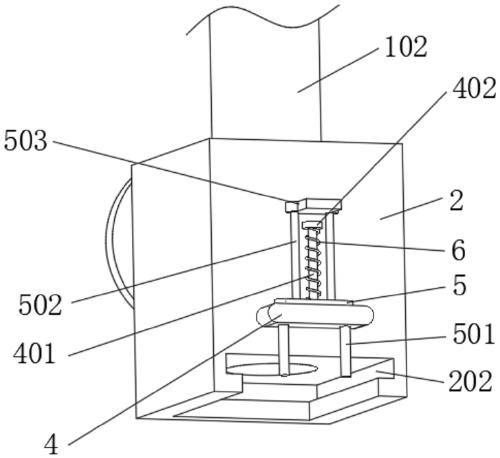
为实现以上目的,本实用新型通过以下技术方案予以实现:新生儿尿液留取装置,包括护理床主体,所述护理床主体的顶部开设有软管插孔,所述护理床主体的底部固定连接有固定管,所述固定管的底部固定连接有安装座,所述安装座上固定安装有阀门主体,所述安装座的侧壁开设有插槽,所述插槽内活动插接有卡板,所述卡板的底部固定连接有连接管,所述连接管的底部固定连接有收集筒,所述卡板的顶部开设有两组锁紧孔,所述安装座的侧壁设有与卡板相对应的卡紧机构,所述安装座的内部设有与固定管管腔相对应的开槽,所述卡板上表面开设有与安装座的开槽相对应的圆孔,所述收集筒安装时,收集筒、连接管、安装座和固定管的内腔相连通。
优选的,所述软管插孔和固定管的中轴线相重合。
优选的,所述卡紧机构包括支撑板,所述支撑板固定连接在安装座的侧壁,所述支撑板的顶部固定连接有固定杆,所述固定杆的顶部固定连接有限位板,所述固定杆上滑动连接有滑动板。
优选的,所述滑动板上开设有与固定杆相对应的圆孔,所述滑动板的底部固定连接有两组锁紧杆,所述锁紧杆的底部穿过支撑板向下延伸并活动插接在两组锁紧孔内。
优选的,所述固定杆上套接有弹簧,所述弹簧的底部与滑动板的上表面相抵,所述弹簧的顶部与限位板的底部相抵,所述弹簧处于压缩状态。
优选的,所述滑动板的顶部固定连接有两组拉杆,所述拉杆的顶部固定连接有把手。
优选的,所述拉杆的长度大于固定杆的长度,所述把手位于限位板的上方。
本实用新型公开了新生儿尿液留取装置,其具备的有益效果如下:
1、该新生儿尿液留取装置,通过设置护理床主体、安装座、收集筒、卡板和卡紧机构,实现了在使用者使用该装置时,可将新生儿的尿液收集垫的软管插入软管插孔内,当新生儿排出尿液时,会通过软管流入软管插孔,并依次由安装座、卡板和连接管进入收集筒的内腔中,实现对尿液的收集,收集筒可快速安装或取下,进而便于对收集筒进行更换,即便于将新生儿的尿液取出进行检验。
2、该新生儿尿液留取装置,卡紧机构的结构简单,不易损坏,使用者操作时,便于对收集筒进行固定,而且在固定好收集筒后,对收集筒的固定效果好,收集筒不易松脱,而且设置的收集筒可多次重复使用,便于清洗和消毒,进而可减少现有技术中大量使用一次性的收集袋,减小了垃圾的制造和对环境的污染。
【附图】:





























