授权专利
【实用新型】改进型的输液吊架
专利号:ZL202022232526.6
申请日:20201009
发明人:李新萍
法律状态:授权
公开号:CN213642537U
授权公告日:2021-07-09
交易方式:转让; 许可
【摘要】:
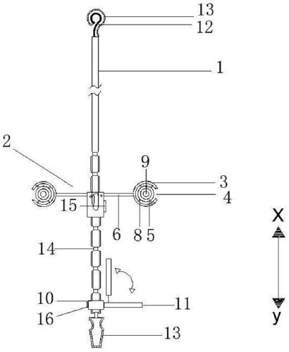
本实用新型公开了一种改进型的输液吊架,包括吊架主体,所述吊架主体上设置有沿第一方向X或第二方向Y可调节的连接架,所述第一方向X与所述第二方向Y方向相反,所述连接架包括至少两个横杆,部分所述横杆一端设置有用于放置药瓶的第一卡扣,所述第一卡扣的材料为弹性材料,所述第一卡扣远离吊架主体一侧设置有第一卡口,所述第一卡扣上连接有固定件,所述固定件底端设置有开口。本实用新型公开的改进型的输液吊架通过第一卡扣不仅能使医护人员操作时更加方便快捷,而且提升医护人员的工作效率,同时节约时间,降低时间成本。
【技术领域】:
本实用新型涉及医疗器械技术领域,更具体地,涉及一种改进型的输液吊架。
【实用新型内容】:
一种改进型的输液吊架,包括吊架主体,所述吊架主体上设置有沿第一方向X或第二方向Y可调节的连接架,所述第一方向X与所述第二方向Y方向相反,所述连接架包括至少两个横杆,部分所述横杆一端设置有用于放置药瓶的第一卡扣,所述第一卡扣的材料为弹性材料,所述第一卡扣远离吊架主体一侧设置有第一卡口,所述第一卡扣上连接有固定件,所述固定件底端设置有开口。
优选的,所述两个横杆一端分别设置有第一卡扣。
优选的,所述第一卡扣上设置有第二卡扣,所述第二卡扣上设置有与第一卡口相对应的第二卡口。
优选的,所述第二卡扣的材料为弹性材料。
优选的,所述固定件为网兜。
优选的,所述吊架主体一侧设置有沿所述第一方向X或所述第二方向Y可调节的第二滑块,所述第二滑块上连接有输液托盘。
优选的,所述第二滑块与所述输液托盘相铰接。
优选的,所述吊架主体的两端分别设置有挂钩,所述挂钩上设置有缓冲层。
优选的,所述固定件与第一卡扣之间设置有连接件。
与现有技术相比,本实用新型提供的,至少实现了如下的有益效果:
本实用新型公开的改进型的输液吊架通过第一卡扣不仅能使医护人员操作时更加方便快捷,而且提升医护人员的工作效率,同时节约时间,降低时间成本;通过固定件能够减少临床瓶套的消毒环节,降低院感交叉感染风险;通过输液托盘不仅能够便于医护人员在做治疗时放置治疗盘,而且还可以粘贴警示语,提示医护人员时刻执行核对制度,避免发生医疗差错。
【附图】:



























