授权专利
【实用新型】改进型气垫床
专利号:ZL202023005203.X
申请日:20201214
发明人:王金秀
法律状态:授权
公开号:CN214018202U
授权公告日:2021-08-24
交易方式:转让; 许可
【摘要】:
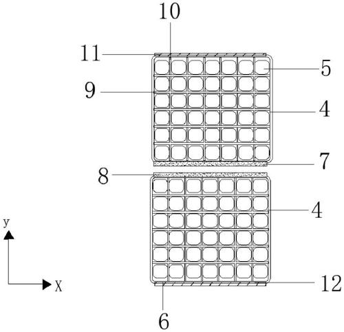
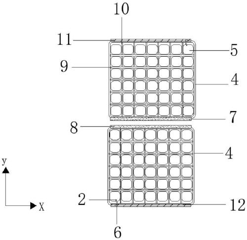
本实用新型公开了改进型气垫床,气囊层包括至少两个气囊,各个气囊之间相连通,气囊呈矩阵式排列,第一垫主体的气囊层周缘设置有第一磁铁贴,第一磁铁贴靠近第二垫主体,第二垫主体的气囊层周缘设置有与第一磁铁贴相适配的第二磁铁贴,第二磁铁贴位于靠近第一垫主体,第一磁铁贴和第二磁铁贴相吸合;还包括外层,外层与气囊层之间为可拆卸式连接;第一垫主体的底层远离气囊层一侧、第二垫主体的的底层远离气囊层一侧设置有至少一个防滑颗粒,防滑颗粒呈矩阵式排列。本实用新型中气囊呈矩阵排列,气囊层中各个气囊之间的密度高,增加长期卧床患者整体受力面积,从而有效改善长期卧床的患者后背出现印痕现象。
【技术领域】:
本实用新型涉及医疗器械技术领域,更具体地,涉及一种改进型气垫床。
【实用新型内容】:
一种改进型气垫床,包括第一垫主体和与第一垫主体相连接的第二垫主体,所述第一垫主体和所述第二垫主体分别包括底层,所述底层上设置有气囊层,所述气囊层包括至少两个气囊,各个所述气囊之间相连通,所述气囊呈矩阵式排列,所述气囊上设置有用于充放气的气嘴,所述第一垫主体的气囊层周缘设置有第一磁铁贴,所述第一磁铁贴靠近所述第二垫主体,所述第二垫主体的气囊层周缘设置有与所述第一磁铁贴相适配的第二磁铁贴,所述第二磁铁贴位于靠近所述第一垫主体,所述第一磁铁贴和第二磁铁贴相吸合;还包括外层,所述外层与所述气囊层之间为可拆卸式连接;所述第一垫主体的底层远离所述气囊层一侧、所述第二垫主体的的底层远离所述气囊层一侧设置有至少一个防滑颗粒,所述防滑颗粒呈矩阵式排列。
优选地,各个所述气囊之间具有至少一个第一凹槽和至少一个第二凹槽,其中,所述第一凹槽沿第一方向延伸且沿第二方向排列,所述第二凹槽沿第二方向延伸且沿第一方向排列,所述第一方向为所述第一磁铁贴的延伸方向,所述第二方向为由所述第一垫主体指向所述第二垫主体的方向。
优选地,所述第一垫主体的气囊层周缘设置有第一魔术贴,所述第一魔术贴远离所述第一磁铁贴,所述第二垫主体的气囊层周缘设置有第二魔术贴,所述第二魔术贴位于远离所述第二磁铁贴,所述外层上设置有与所述第一魔术贴和/或所述第二魔术贴相适配的第三魔术贴,所述第三魔术贴与所述第一魔术贴和/或所述第二魔术贴相连接。
优选地,所述气嘴内表面设置有气压监测装置。
与现有技术相比,本实用新型提供的改进型气垫床,至少实现了如下的有益效果:
由于气囊层的气囊之间呈矩阵排列,气囊层中各个气囊之间的密度高,增加长期卧床患者整体受力面积,从而有效改善长期卧床的患者后背出现印痕现象;分体式设计有利于单人(医护人员或家属)更换气垫床,进一步提高医护人员的工作效率;通过第一凹槽和第二凹槽能够增加第一垫主体和/或第二垫主体的透气性,从而提高长期卧床患者的舒适感;通过外层能够避免长期卧床患者的皮肤直接接触气囊层从而引起接触性皮炎;通过气压监测装置实时监测气囊内的气压。
【附图】:






























