授权专利
【实用新型】一种下肢辅助抬高装置
专利号:ZL202022762814.2
申请日:20201125
发明人:刘慧茹
法律状态:授权
公开号:CN214157754U
授权公告日:2021-09-10
交易方式:转让; 许可
【摘要】:
本实用新型公开了一种下肢辅助抬高装置,涉及到下肢辅助抬高装置领域,包括床板,所述床板的一侧设有抬高板,在使用时,病人躺在床板上方,腿部置于抬高板的表面,通过启动推动单元可带动抬高板以其与床板的铰接位置为轴转动向上倾斜,实现腿部的抬高,而腿部抬高时,由于腿部的肿胀位置接触到抬高板时会产生疼痛,使得腿部活动,降低腿部肿胀位置的康复效率,此时,可通过将定点抬高装置上升,对腿部合适的位置进行架空,实现避免腿部肿胀位置与物体接触的现象,实用性强。
【技术领域】:
本实用新型涉及下肢辅助抬高装置领域,特别涉及一种下肢辅助抬高装置。
【实用新型内容】:
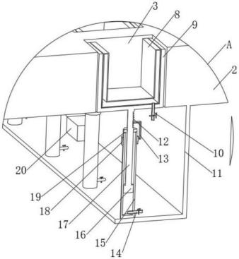
一种下肢辅助抬高装置,包括床板,所述床板的一侧设有抬高板,抬高板的端部与床板的端部相互铰接,所述抬高板的底部远离床板的一侧设有推动单元,所述床板的下方两侧均固定焊接有支撑腿,所述床板底部一侧的两组支撑腿之间固定焊接有连接架,所述连接架的端部延伸至推动单元的下方,所述推动单元的上下两端分别活动铰接在抬高板的底部与连接架的端部,所述抬高板的表面设有多组分布在抬高板两侧且上下贯穿的矩形槽,所述矩形槽中设有定点抬高装置,所述定点抬高装置包括可升降的放置板,所述放置板的内壁上固定设有气囊,所述放置板的下端固定设有伸缩杆,所述伸缩杆的下端一体设有活塞,所述活塞的外圈处包覆有伸缩筒,所述伸缩杆的下端可伸缩的设置在伸缩筒的内部,所述伸缩筒的底部固定焊接有支架,所述支架呈L字形结构固定焊接在抬高板的底面。
优选的,所述放置板呈凹字形结构对应在矩形槽中设置,放置板的上端开口。
本实施例中,在使用时,病人躺在床板上方,腿部置于抬高板的表面,通过启动推动单元可带动抬高板以其与床板的铰接位置为轴转动向上倾斜,实现腿部的抬高,而腿部抬高时,由于腿部的肿胀位置接触到抬高板时会产生疼痛,使得腿部活动,降低腿部肿胀位置的康复效率,此时,可通过将定点抬高装置上升,对腿部合适的位置进行架空,实现避免腿部肿胀位置与物体接触的现象,实用性强,装置中,推动单元可使用电动推杆等装置。
优选的,所述放置板的底部设置有连通气囊内部的第一气管,所述第一气管上设有第一开关阀。
需要说明的是,第一开关阀可使用电磁阀或者手动阀等装置,当通过第一气管向气囊内充气时,使得气囊膨胀将置于放置板中的腿部包紧,起到稳定腿部的目的,且对腿部的保护性强。
优选的,所述伸缩筒的上端通过螺钉固定有活动封板,所述活动封板阻挡在活塞的上方,且活动封板呈环形结构活动套设在伸缩杆的外圈处。
进一步的,活动封板方便拆装,活动封板拆除时,伸缩杆端部的活塞可从伸缩筒中取出,方便拆装和维护。
优选的,所述伸缩筒的外圈处通过螺纹配合连接有转动环,所述转动环的一侧固定焊接有弹性卡板,所述伸缩杆的侧面设有多组上下等距离分布的卡槽,所述弹性卡板的端部匹配卡合在对应的卡槽中。
具体的,转动转动环,将转动环上的弹性卡板转动到对应卡槽的位置时,弹性卡板的端部可卡合在卡槽中,完成伸缩杆与伸缩筒的相对固定,此时,放置板支撑腿部时不会产生晃动现象,而转动环上的弹性卡板转动到卡槽以外位置时,伸缩杆失去弹性卡板的限制,伸缩杆可相对伸缩筒活动,活塞的底部与伸缩筒之间留有密封的空腔,空腔内充满气体,使得腿部在支撑于放置板中时具有良好的缓冲作用,伸缩杆会在伸缩筒中一定程度的升降,避免出现硬性支撑导致腿部长时间酸胀的现象,实用性强,可根据实际需求进行选用。
优选的,所述活塞与伸缩筒的底部之间形成密封的空腔,伸缩筒的一侧设有与空腔连通的第二气管,所述第二气管上设有第二开关阀。
其中,第二开关阀可使用电磁阀或手动阀等装置,在通过第二气管向密封的空腔中充气时,气体抵触活塞和伸缩杆上升,达到控制放置板上升的目的,使得放置板上升,对腿部对应的位置进行支撑,而打开第二气管、第一气管上相应位置的第二开关阀和第一开关阀,可选择性的向密封的空腔、气囊中充气。
优选的,所述支架上固定设有送气单元。
需要说明的是,送气单元可使用气泵等,送气单元的端部设有若干组分别与第一气管和第二气管连通的管道。
本实用新型的技术效果和优点:
1、本实用新型的一种下肢辅助抬高装置,包括床板,所述床板的一侧设有抬高板,在使用时,病人躺在床板上方,腿部置于抬高板的表面,通过启动推动单元可带动抬高板以其与床板的铰接位置为轴转动向上倾斜,实现腿部的抬高,而腿部抬高时,由于腿部的肿胀位置接触到抬高板时会产生疼痛,使得腿部活动,降低腿部肿胀位置的康复效率,此时,可通过将定点抬高装置上升,对腿部合适的位置进行架空,实现避免腿部肿胀位置与物体接触的现象,实用性强;
2、本实用新型的一种下肢辅助抬高装置,所述放置板的底部设置有连通气囊内部的第一气管,所述第一气管上设有第一开关阀,当通过第一气管向气囊内充气时,使得气囊膨胀将置于放置板中的腿部包紧,起到稳定腿部的目的,且对腿部的保护性强;
3、本实用新型的一种下肢辅助抬高装置,伸缩筒的外圈处通过螺纹配合连接有转动环,所述转动环的一侧固定焊接有弹性卡板,所述伸缩杆的侧面设有多组上下等距离分布的卡槽,所述弹性卡板的端部匹配卡合在对应的卡槽中,转动转动环,将转动环上的弹性卡板转动到对应卡槽的位置时,弹性卡板的端部可卡合在卡槽中,完成伸缩杆与伸缩筒的相对固定,此时,放置板支撑腿部时不会产生晃动现象,而转动环上的弹性卡板转动到卡槽以外位置时,伸缩杆失去弹性卡板的限制,伸缩杆可相对伸缩筒活动,活塞的底部与伸缩筒之间留有密封的空腔,空腔内充满气体,使得腿部在支撑于放置板中时具有良好的缓冲作用,伸缩杆会在伸缩筒中一定程度的升降,避免出现硬性支撑导致腿部长时间酸胀的现象,实用性强。
【附图】:




























