授权专利
【实用新型】一种下肢矫正支架
专利号:ZL202021899840.3
申请日:20200903
发明人:孟庆颖
法律状态:授权
公开号:CN213250115U
授权公告日:2021-05-25
交易方式:转让; 许可
【摘要】:
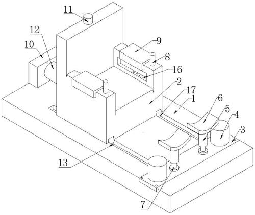
本实用新型涉及医疗器械技术领域,公开了一种下肢矫正支架,包括底座,所述底座的上端设置有座椅,所述底座的上端两侧均开设有滑槽,所述底座的上端前侧嵌入连接有连接板,所述底座的上端后侧连接有固定板,所述连接板的上端两侧均连接有电机。本实用新型气缸与座椅连接,气缸带动座椅移动,通过滑轮和滑槽的配合,可以使座椅能够更加稳定快速的笔直的前后移动,气缸将带动固定板到后端方便患者坐在座椅上,可根据患者的下肢长度,控制气缸将座椅推到合适的位置,双手握住扶杆,胳膊放置在护垫上,使患者使用更加舒适,主动齿轮带动从动齿轮转动,转动的丝杆控制伸缩杆上下移动,带动患者下肢上下摆动,整体结构简单方便操作。
【技术领域】:
本实用新型涉及医疗器械技术领域,具体是一种下肢矫正支架。
【实用新型内容】:
一种下肢矫正支架,包括底座,所述底座的上端设置有座椅,所述底座的上端两侧均开设有滑槽,所述底座的上端前侧嵌入连接有连接板,所述底座的上端后侧连接有固定板,所述连接板的上端两侧均连接有电机,所述连接板的上端中间处于两个电机旁边均连接有伸缩杆,所述伸缩杆的上端连接有矫正块。
作为本实用新型再进一步的方案:所述座椅的下端连接有若干滑轮,所述滑轮滑动连接在滑槽的内部。
作为本实用新型再进一步的方案:所述座椅的内侧左端槽内的底端设置有若干控制按钮,所述座椅的上端连接有警报灯。
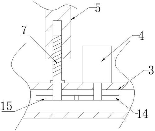
作为本实用新型再进一步的方案:所述电机的下端连接有主动齿轮,所述主动齿轮配合有从动齿轮,所述从动齿轮连接有丝杆,所述从动齿轮和主动齿轮处于连接板的下端。
作为本实用新型再进一步的方案:所述座椅的两侧扶手上端均连接有护垫以及处于护垫前端的扶杆。
作为本实用新型再进一步的方案:所述固定板的前端连接有气缸,所述气缸与座椅连接。
与现有技术相比,本实用新型的有益效果:
1、气缸与座椅连接,气缸带动座椅移动,滑轮和滑槽的配合,可以使座椅能够更加稳定快速的笔直的前后移动,气缸将带动固定板到后端方便患者坐在座椅上,当患者坐稳之后,可根据患者的下肢长度,控制气缸将座椅推到合适的位置。
2、坐在座椅上,双手握住扶杆,胳膊放置在护垫上,使患者使用更加舒适,将腿放在矫正块上,电机带动主动齿轮转动,主动齿轮带动从动齿轮转动,从动齿轮带动丝杆转动,转动的丝杆控制伸缩杆上下移动,带动患者下肢上下摆动,整体结构简单方便操作。
【附图】:



























