授权专利
【实用新型】用于临床医疗的转运车
专利号:ZL202121726963.1
申请日:20210728
发明人:岳颖
法律状态:授权
公开号:CN214858371U
授权公告日:2021-11-26
交易方式:转让; 许可
【摘要】:
本实用新型公开了用于临床医疗的转运车,加热装置包括第一夹持件和第二夹持件,第一夹持件和第二夹持件之间设置有石墨烯发热膜,石墨烯发热膜上具有导电条;第一夹持件上设置有温度传感器,承面板上设置有重力感应器、温控器、电池和开关,导电条、温度传感器、重力感应器和电池分别与温控器电连接;第一夹持件的厚度小于垫体的厚度;床架具有两个万向轮和两个运动轮,其中,两个万向轮位于床架的前部,两个运动轮位于床架的后部,垫体靠近万向轮远离运动轮一端设置有头枕;垫体和头枕均为聚醚型聚氨酯泡沫海绵或乳胶材料。通过温控器、加热装置、温度传感器和重力感应器之间的相互配合,使垫体加热更加均匀,有效地提高冬季患者检查时舒适感。
【技术领域】:
本实用新型涉及医疗器械技术领域,更具体地,涉及一种用于临床医疗的转运车。
【实用新型内容】:
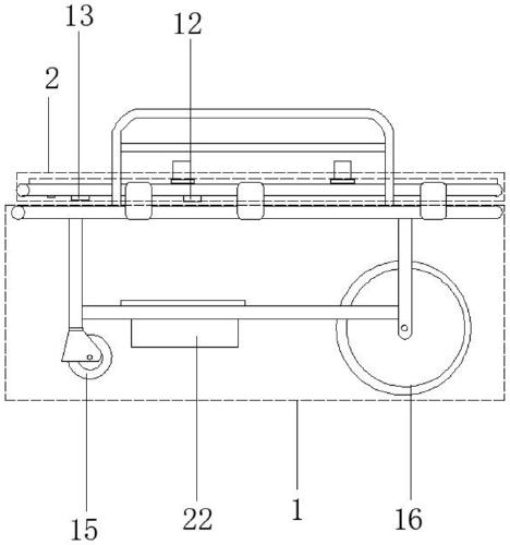
一种用于临床医疗的转运车,包括床架和与所述床架相连接的担架,所述担架包括由下至上依次设置的承面板、加热装置和垫体;
所述加热装置包括第一夹持件和第二夹持件,所述第一夹持件位于靠近所述垫体远离所述床架一侧,所述第二夹持件位于靠近所述承面板远离垫体一侧,所述第一夹持件和所述第二夹持件之间设置有石墨烯发热膜,所述石墨烯发热膜上具有导电条;
所述第一夹持件上设置有温度传感器,所述承面板上设置有重力感应器、温控器、电池和开关,所述导电条、所述温度传感器、所述重力感应器和所述电池分别与所述温控器电连接,所述电池与所述开关电连接;
所述第一夹持件的厚度小于所述垫体的厚度;
所述床架具有两个万向轮和两个运动轮,其中,所述两个万向轮位于所述床架的前部,所述两个运动轮位于所述床架的后部,所述垫体靠近所述万向轮远离所述运动轮一端设置有头枕;
垫体和头枕均为聚醚型聚氨酯泡沫海绵或乳胶材料。
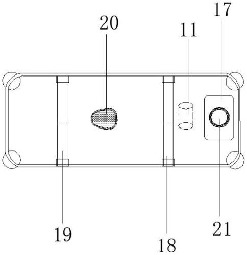
优选地,所述承面板上设置有第一固定带和第二固定带,其中,所述第一固定带位于靠近所述头枕一侧,所述第二固定带位于远离所述头枕一侧。
优选地,所述垫体上设置有第一凹槽,所述第一凹槽位于所述第一固定带和所述第二固定带之间。
优选地,所述头枕中部设置有第二凹槽,所述头枕的内侧和所述第二凹槽的外侧之间为渐变型凹槽。
优选地,所述重力感应器位于靠近所述头枕远离所述运动轮一侧,所述开关位于靠近所述万向轮远离所述运动轮一侧。
优选地,所述床架下方设置有放置框,所述放置框位于靠近所述万向轮远离所述运动轮一侧。
与现有技术相比,本实用新型提供的用于临床医疗的转运车,至少实现了如下的有益效果:
该用于临床医疗的转运车通过温控器、加热装置、温度传感器和重力感应器之间的相互配合,使垫体加热更加均匀,从而有效地提高冬季患者检查时舒适感,而且有效地避免误操作,有利于节约用电,同时便于快速地向垫体传递热量,安全系数高以及实用性强;可选地,垫体和头枕均采用聚醚型聚氨酯泡沫海绵或乳胶材料,能够有效地缓解颠簸感,从而避免患者二次伤害;可选地,通过第一固定带和第二固定带能够提升患者的安全指数,有利于降低医疗事故的发生;可选地,通过第一凹槽有利于提升患者的排便的舒适感,无需将臀部抬高即可解决生理问题,也降低了医护人员和/或家属的劳动量。
【附图】:





























