授权专利
【实用新型】用于驼背患者肋骨骨折的固定装置
专利号:ZL202023024396.3
申请日:20201215
发明人:孟亚楠
法律状态:授权
公开号:CN214285344U
授权公告日:2021-09-28
交易方式:转让; 许可
【摘要】:
本实用新型公开了用于驼背患者肋骨骨折的固定装置,海绵层包括第一海绵层和与第一海绵层相连接的第二海绵层,第一海绵层围绕第二海绵层设置,第二海绵层的厚度小于第一海绵层的厚度,基底层上设置有通孔,通孔与第二海绵层相对应,第一海绵层和第二海绵层的材质分别为记忆海绵或乳胶,第一海绵层包括至少一个镂空部,镂空部沿第一方向和第二方向排布,第一方向和第二方向相交,第一方向为由基底层向上或向下延伸方向,第二方向为由基底层向左或向右延伸方向。本实用新型中当驼背患者的胸椎后突贴合在第二海绵层后被第二海绵层吸收,从而能够牢靠地固定在胸壁上,无需采用其他软材料将第二海绵层和胸椎后突之间垫平才能将其固定。
【技术领域】:
本实用新型涉及医疗器械技术领域,更具体地,涉及一种用于驼背患者肋骨骨折的固定装置。
【实用新型内容】:
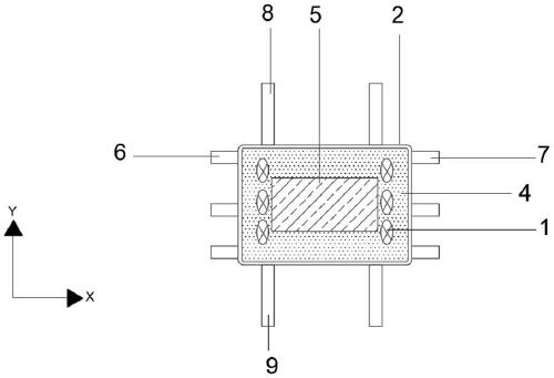
一种用于驼背患者肋骨骨折的固定装置,包括基底层,所述基底层上设置有海绵层,所述海绵层包括第一海绵层和与所述第一海绵层相连接的第二海绵层,所述第一海绵层围绕所述第二海绵层设置,所述第二海绵层的厚度小于所述第一海绵层的厚度,所述基底层上设置有通孔,所述通孔与所述第二海绵层相对应,所述第一海绵层和所述第二海绵层的材质分别为记忆海绵或乳胶,所述第一海绵层包括至少一个镂空部,所述镂空部沿第一方向和第二方向排布,所述第一方向和所述第二方向相交,所述第一方向为由所述基底层向上或向下延伸方向,所述第二方向为由所述基底层向左或向右延伸方向。
优选地,所述基底层包括至少一个第一固定带和至少一个第二固定带,所述第一固定带和所述第二固定带相对设置,所述第一固定带和所述第二固定带分别沿所述第一方向排列,所述第一固定带和第二固定带相连接。
优选地,所述基底层还包括至少一个第三固定带和至少一个第四固定带,所述第三固定带和所述第四固定带相对设置,所述第三固定带和所述第四固定带分别沿所述第二方向排列,所述第三固定带和所述第四固定带相连接。
优选地,所述第一固定带与所述第二固定带之间通过第一魔术贴、第一子母扣或第一卡扣相连接。
优选地,所述第三固定带和所述第四固定带之间通过第二魔术贴、第二子母扣或第二卡扣相连接。
与现有技术相比,本实用新型提供的用于驼背患者肋骨骨折的固定装置,至少实现了如下的有益效果:
该固定装置中由于第二海绵层的厚度小于第一海绵层的厚度,当驼背患者的胸椎后突贴合在第二海绵层后被第二海绵层吸收,从而能够牢靠地固定在胸壁上,无需采用其他软材料将第二海绵层和胸椎后突之间垫平才能将其固定,进而提升医护人员的工作效率,以及降低驼背患者的成本,同时带来一定的美观效果;通过镂空部可以实现减轻海绵层的整体重量,从而减轻患者背部的承重能力,增加患者的舒适性;通过第一固定带、第二固定带、第三固定带和第四固定带不仅能够进一步有效保证基底层的固定,而且可以方便、快捷的将第三固定带和第四固定带固定在一起,同时降低医护人员的工作量,有效提高医护人员的工作效率。
【附图】:




























