授权专利
【实用新型】指套型安瓿开启器
专利号:ZL202022805670.4
申请日:20201127
发明人:叶明珠
法律状态:授权
公开号:CN213950541U
授权公告日:2021-08-13
交易方式:转让; 许可
【摘要】:
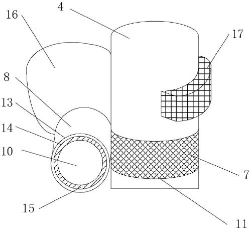
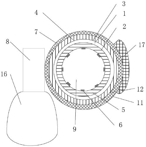
本实用新型公开了一种指套型安瓿开启器,包括:与食指相匹配的套体;套体靠近食指指尖一端为封闭端面,套体为一体成型;套体靠近食指一侧为内表面,套体远离食指一侧为外表面;还包括保护层和防滑层,保护层贴附于外表面,防滑层贴附于内表面;防滑层远离保护层一侧设有间隔设置的橡胶条;还包括开口装置,开口装置包括第一套环和第二套环,第一套环套于保护层外,第一套环与第二套环均为立体圆环。第一套环与第二套环相切;设有与第二套环匹配的环形人造金刚石刀片。通过环形人造金刚石刀片切割玻璃安瓿形成划痕,便于打开安瓿。第二套环包裹住玻璃安瓿断开处,断开时,避免出现玻璃的崩溅和掉落或是断开处划伤工作人员的情况,安全性更高。
【技术领域】:
本实用新型涉及医疗用具领域,更具体地,涉及一种指套型安瓿开启器。
【实用新型内容】:
本实用新型提供了一种指套型安瓿开启器,其特征在于,包括:与食指相匹配的套体;
所述套体靠近食指指尖一端为封闭端面,所述套体为一体成型;
所述套体靠近食指一侧为内表面,所述套体远离食指一侧为外表面;
还包括保护层和防滑层,所述保护层贴附于所述外表面,所述防滑层贴附于所述内表面;
所述防滑层远离所述保护层一侧设有间隔设置的橡胶条;
还包括开口装置,所述开口装置包括第一套环和第二套环,所述第一套环套于所述保护层外,所述第一套环与所述第二套环均为立体圆环,所述第一套环包括第一中空区,所述第二套环包括第二中空区;
所述第一套环远离所述第一中空区一侧为第一面,所述第一套环靠近所述第一中空区一侧为第二面;
所述第二套环远离所述第二中空区一侧为第三面,所述第二套环靠近所述第二中空区一侧为第四面;
所述第一面与所述第三面连接,所述第一套环与所述第二套环相切;
所述第二面与所述保护层连接;
所述第四面设有与所述第二套环匹配的环形人造金刚石刀片。
优选地,所述第二套环一端设有收纳袋,所述收纳袋与所述第二套环可拆卸连接。
优选地,所述收纳袋与所述第二套环可拆卸连接的方式为卡合、绑带和粘贴中的一种。
优选地,所述保护层设有凸起。
优选地,所述开口装置的材料为合金钢、铝合金和铁中的一种。
优选地,所述保护层的材料为碳纤维、芳纶纤维、聚乙烯纤维、玄武岩纤维和聚苯硫醚中的一种。
与现有技术相比,本实用新型提供的指套型安瓿开启器,至少实现了如下的有益效果:
1、本实用新型提供的指套型安瓿开启器的第二套环套于玻璃安瓿头部外,第二套环向玻璃安瓿侧壁用力,便于将玻璃安瓿的颈部折断,更加省力、安全。
2、本实用新型提供的指套型安瓿开启器设置环形人造金刚石刀片,环形人造金刚石刀片切割玻璃安瓿,玻璃安瓿容易形成划痕,便于打开安瓿。
3、本实用新型提供的指套型安瓿开启器设有保护层和防滑层,保护层防止食指被割伤,防滑层固定位置,防止脱落。
【附图】:



























