授权专利
【实用新型】多功能术后护肩
公开(公告)号: CN216875121U
摘要附图:

标题: 多功能术后护肩
专利类型: 实用新型
申请日: 2022-01-01
公开(公告)日: 2022-07-05
发明人: 滕羽佳 | 彭琪 | 杨艳泽
当前申请(专利权)人: 首都医科大学附属北京潞河医院
IPC分类号: A41D13/05
法律状态/事件: 授权
技术功效: [0014]在原有的护肩上加装可充气膨胀的颈部气囊,利用膨胀的气囊,既能够有效的将颈肩处,进行连接密封,防止冷气流进入,同时膨胀的颈部气囊,也能够实现对头部进行一定程度的支撑效果,既能够方便对脖子进行一定程度的保护,而且在用户在无法躺平睡觉时,也能够一定程度上,使用户在坐着睡觉时,进行良好的支撑,提高睡觉的舒适性; [0015]同时将原有的肩托,采用手捏压力球进行代替,能够实现了颈部气囊充气装置的良好隐藏,更加便于携带,同时手捏压力球,也能够实现肩托支撑的效果。 [0016]参照后文的说明和附图,详细公开了本实用新型的特定实施方式,指明了本实用新型的原理可以被采用的方式。应该理解,本实用新型的实施方式在范围上并不因而受到限制。 [0017]针对一种实施方式描述和/或示出的特征可以以相同或类似的方式在一个或更多个其它实施方式中使用,与其它实施方式中的特征相组合,或替代其它实施方式中的特征。
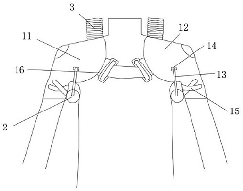
摘要: 本实用新型公开了多功能术后护肩,包括用于肩部保护的护肩本体,还包括用于手臂支撑的肩托,所述护肩本体包括左护肩和右护肩,所述左护肩和右护肩上均设有固定连接且可充气膨胀用于颈部支撑的颈部气囊,所述肩托包括用于颈部气囊充气的手捏压力球,所述手捏压力球内设有多个固定连接且用于支撑弹性的弹簧,且手捏压力球出口处设有相连通且用于颈部气囊充气的充气管,在原有的护肩上加装可充气膨胀的颈部气囊,利用膨胀的气囊,既能够有效的将颈肩处,进行连接密封,防止冷气流进入,既能够方便对脖子进行一定程度的保护,而且在用户在无法躺平睡觉时,也能够一定程度上,使用户在坐着睡觉时,进行良好的支撑,提高睡觉的舒适性。

























