授权专利
【实用新型】多功能压舌板
公开(公告)号: CN215017077U
摘要附图:

标题: 多功能压舌板
专利类型: 实用新型
申请日: 2021-04-29
公开(公告)日: 2021-12-07
发明人: 许谨
当前申请(专利权)人: 首都医科大学附属北京潞河医院
IPC分类号: A61B1/24 | A61B1/06 | A61M1/00 | A61C17/10
法律状态/事件: 授权
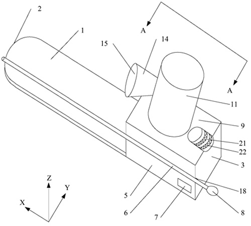
技术功效: [0021]1、本实用新型提供的多功能压舌板的灯光块与顶面转动连接,灯光块的转动带动LED灯的照射区域改变,能够满足口腔内任意区域的强光照射需求。 [0022]2、本实用新型提供的多功能压舌板的聚光罩与套体螺纹连接,调节聚光罩与套体啮合的长度从而改变凸透镜与LED灯之间的距离,调整照射区域的大小。当LED灯与凸透镜之间的距离大于凸透镜的二倍焦距时,LED灯发出的光线汇聚成的照射区域小,亮度高;当LED灯与凸透镜之间的距离大于凸透镜的一倍焦距且小于凸透镜的二倍焦距时,LED灯发出的光线汇聚成的照射区域大,亮度较低。 [0023]3、本实用新型提供的多功能压舌板设有吸管,吸管能够将口腔内阻碍观察的口水或痰液吸走,操作简单,方便观察口腔内组织情况。 [0024]4、本实用新型提供的多功能压舌板的聚光罩为中空圆台,既能够起到保护LED灯的作用,又能够增大聚光罩的面积,便于对LED灯产生的热量进行散热,还有利于减小LED灯的光线衰减。 [0025]当然,实施本实用新型的任一产品必不特定需要同时达到以上所述的所有技术效果。 [0026]通过以下参照附图对本实用新型的示例性实施例的详细描述,本实用新型的其它特征及其优点将会变得清楚。
摘要: 本实用新型公开了一种多功能压舌板,包括:压舌板,包括第一端和第二端;手柄,内设有电源,包括与第二端可拆卸连接的第一面、第三面和顶面,第三面设有吸管和开关,吸管远离压舌板的一端设有胶帽,开关与电源连接;灯光块,与顶面转动连接,灯光块的侧壁上设有LED灯,LED灯分别与电源、开关连接,灯光块还包括套体、聚光罩和凸透镜,套体套接于LED灯外并且与侧壁连接,聚光罩包括第三端和第四端,第三端的直径大于第四端,第三端设有凸透镜,第四端与套体螺纹连接。通过灯光块与顶面转动连接,灯光块的转动带动LED灯的照射区域改变,能够满足口腔内任意区域的强光照射需求。

























