授权专利
【实用新型】一种便携式呕吐物收集装置
公开(公告)号: CN215193922U
摘要附图:

标题: 一种便携式呕吐物收集装置
专利类型: 实用新型
申请日: 2021-02-25
公开(公告)日: 2021-12-17
发明人: 马诗雨 | 金侠 | 张丽
当前申请(专利权)人: 首都医科大学附属北京潞河医院
IPC分类号: A61J19/00 | A61B10/00
法律状态/事件: 授权
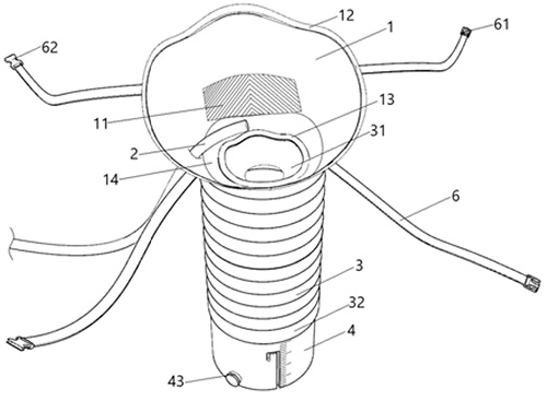
技术功效: [0012]本实用新型可时刻与患者口部相连,以免突发呕吐,采用面罩(或挂耳式) 方便戴取,解放双手和减少陪护工作,连接吸管,方便漱口,收纳度高,便捷患者清洁口腔异味,提高患者舒适度;口角周围采用棉纱透气网布用来擦拭呕吐物的残渣,收集罐外壳标有刻度,设有采样小口,在必要时方便取样送检,协助临床工作;拆卸简单,清洗方便,可反复使用(仅患者本人),降低成本,实用性高。
摘要: 本实用新型提供了一种便携式呕吐物收集装置,其特征在于,包括面罩、吸水管、波纹连接管、收集罐外壳、收集罐和调节绑带;所述吸水管贯穿固定于所述面罩的一侧,方便卧床患者漱口,所述调节绑带固定在所述面罩两侧,所述面罩与所述波纹连接管上端粘接,所述收集罐外壳与所述波纹连接管下端通过旋转连接壳旋转连接,所述收集罐位于所述收集罐外壳内部。本实用新型可时刻与患者口部相连,以免突发呕吐,收纳度高,便捷患者清洁口腔异味,提高患者舒适度;口角周围采用棉纱透气网布用来擦拭呕吐物的残渣,收集罐外壳标有刻度,设有采样小口,在必要时方便取样送检,协助临床工作;拆卸简单,清洗方便,可反复使用,降低成本,实用性高。

























