授权专利
【实用新型】一种便携式碳-13呼气实验用气袋
公开(公告)号: CN216908009U
摘要附图:

标题: 一种便携式碳-13呼气实验用气袋
专利类型: 实用新型
申请日: 2022-01-19
公开(公告)日: 2022-07-08
发明人: 王锦茹
当前申请(专利权)人: 首都医科大学附属北京潞河医院
IPC分类号: A61B10/00
法律状态/事件: 授权
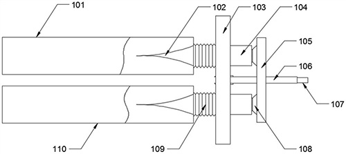
技术功效: [0022]1、第一气袋、第二气袋内逆止件有效防止气体从气袋内流程,尤其是针对年龄较小或年龄较大的受试者(年龄较小受试者容易在吹气过程中吸气,年龄较大受试者气力较小,收集气体困难)时,能够提高收集气体效率。 [0023]2、球体与密封口结构的设置,仅需转动调节板,即可完成第一气袋、第二气袋的二次封闭,进一步提高气袋密封性,且不会受到受试者人体机能、协调性的影响。 [0024]3、通过气袋连接板将第一气袋、第二气袋连接,便于携带且在收集气体过程中不会造成气袋混淆;尤其是气袋连接板将两个连通管连接固定,便于球体与密封口的对接。
摘要: 本实用新型提供了一种便携式碳‑13呼气实验用气袋,包括第一气袋和第二气袋,所述第一气袋和第二气袋右端均设有折叠管,所述折叠管与一连通管连接,两个连通管通过气袋连接板连接,两个连通管之间且位于气袋连接板水平中心线处设有吹气调节机构;所述第一气袋和第二气袋内均设有逆止件,所述逆止件与折叠管连通,所述逆止件远离折叠管的一端初始状态闭合,气袋进气时呈打开状态。本实用新型解决了现有气袋在收集气体过程中气体容易从气袋中流出、收集气体困难,且外出收集气体时,气袋容易混淆等问题。

























