授权专利
【实用新型】一种电动充气装置及加压袋
公开(公告)号: CN215309154U
摘要附图:

标题: 一种电动充气装置及加压袋
专利类型: 实用新型
申请日: 2021-01-29
公开(公告)日: 2021-12-28
发明人: 杨义
当前申请(专利权)人: 首都医科大学附属北京潞河医院
IPC分类号: A61M5/155 | A61B5/0215
法律状态/事件: 授权
技术功效: [0016]本申请提供的电动充气装置及加压袋,气泵将气体通过充气管打入加压袋中,避免手动操作,减少工作人员的工作强度,通过气泵和充气球囊切换使用,使充气装置方便切换供气模式,操作更方便。
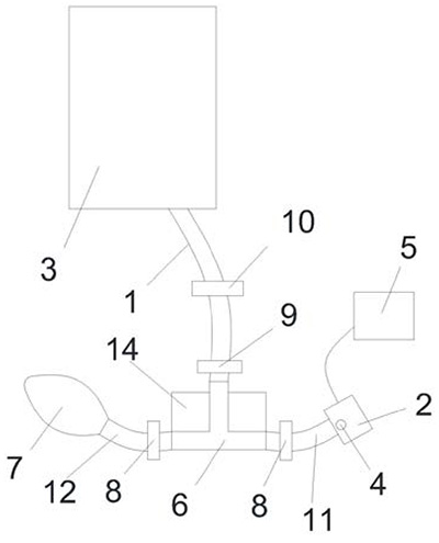
摘要: 本实用新型公开一种电动充气装置及加压袋,所述装置包括:充气管和气泵,所述充气管与加压袋连接,所述气泵与所述充气管连接;所述充气管与所述气泵之间设置有三通,所述三通具有第一端口、第二端口以及第三端口,所述充气管和所述三通的第一端口连通,所述气泵和所述三通的第二端口连通,所述三通的第三端口连接有充气球囊。本申请提供的电动充气装置,气泵将气体通过充气管打入加压袋中,避免手动操作,减少工作人员的工作强度,通过气泵和充气球囊切换使用,使充气装置方便切换供气模式,操作更方便。

























