授权专利
【实用新型】一种动脉穿刺点固定装置
公开(公告)号: CN216022654U
摘要附图:

标题: 一种动脉穿刺点固定装置
专利类型: 实用新型
申请日: 2021-07-13
公开(公告)日: 2022-03-15
发明人: 陈晶
当前申请(专利权)人: 首都医科大学附属北京潞河医院
IPC分类号: A61M35/00 | A61B17/12 | A61B90/14
法律状态/事件: 授权
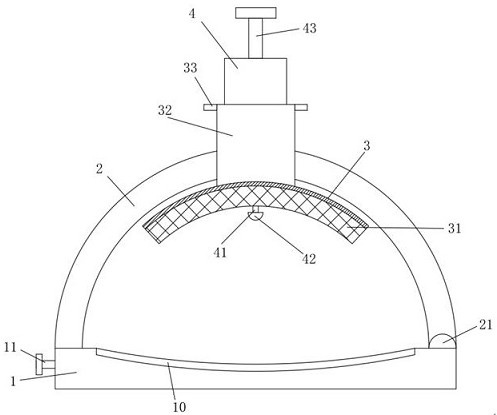
技术功效: [0012]利用底托能够有效的将手臂进行支撑,定位环的设计,能够有效的使消毒棉层和喷头固定在手臂用于穿刺点的上方,喷头的设计的,利用活塞板的向下运动,能够使消毒液通过喷头直接喷出,直接进行喷淋消毒,可以将喷头采用孔径很细的喷头,这样消毒液喷涂的更加的均匀,利用率更高,提高消毒效果;固定板和消毒棉层的设计,当穿刺完成后,通过固定板的向下运动,即可实现消毒棉层的按压,代替了人工长时间的按压,十分的方便。
摘要: 本实用新型公开了一种动脉穿刺点固定装置,包括底托和定位环,所述定位环呈圆弧形,且定位环中部设有固定连接的消毒注射筒,所述消毒注射筒底部设有用于喷淋的喷头,消毒注射筒内储存有消毒液,且消毒注射筒内还设有滑动连接且用于消毒液喷出的活塞板,所述活塞板上设有固定连接的活塞杆,位于喷头外侧的所述定位环下方设有可上下运动且用于动脉穿刺点固定的固定板,所述固定板底部设有粘结的消毒棉层,喷头的设计的,利用活塞板的向下运动,能够使消毒液通过喷头直接喷出,直接进行喷淋消毒,固定板和消毒棉层的设计,代替了人工长时间的按压,十分的方便。

























