授权专利
一种唇腺活检专用医疗椅
公开(公告)号: CN218572488U
摘要附图:

标题: 一种唇腺活检专用医疗椅
专利类型: 实用新型
申请日: 2022-08-09
公开(公告)日: 2023-03-07
发明人: 王媛
当前申请(专利权)人: 首都医科大学附属北京潞河医院
IPC分类号: A61G15/02 | A61G15/10 | A61G15/12
法律状态/事件: 授权
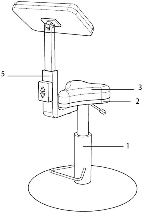
技术功效语段: [0009]本实用新型在满足给予操作者胸腹部支撑的同时,不影响患者的手术,且装置设有高度调节的功能,能够满足不同身高患者的需求,再一定程度上降低了患者出现腰肌劳损和腰椎间盘疾病的风险。
摘要: 本实用新型涉及医疗辅助器械领域,公开了一种唇腺活检专用医疗椅,其特征在于:包括底座支撑模块、底座底板、软座、固定螺栓和胸部支撑模块;所述底座支撑模块上端设有所述底座底板;所述底座底板的上端设有所述软座;所述底座底板的底面通过所述固定螺栓连接所述胸部支撑模块;本实用新型在满足给予操作者胸腹部支撑的同时,不影响患者的手术,且装置设有高度调节的功能,能够满足不同身高患者的需求,再一定程度上降低了患者出现腰肌劳损和腰椎间盘疾病的风险。

























