授权专利
一种多功能末端回弯钳
公开(公告)号: CN218960973U
摘要附图:

标题: 一种多功能末端回弯钳
专利类型: 实用新型
申请日: 2022-12-01
公开(公告)日: 2023-05-05
发明人: 张晓娟 | 廖湘凌
当前申请(专利权)人: 首都医科大学附属北京潞河医院
IPC分类号: A61C7/04
法律状态/事件: 授权
技术功效语段: [0012]本技术方案将末端回弯钳和末端切断钳整合为一体,通过设置固定末端弓丝预留长度和预设的可调节的末端回弯角度,简化正畸操作,缩短临床操作时间,提高医生工作效率,提高患者舒适度。
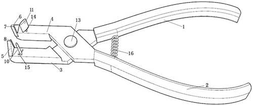
摘要: 本实用新型涉及医疗器械技术领域,公开了一种多功能末端回弯钳,包括第一手柄、第二手柄、第一连接臂、第二连接臂、第一钳喙、第二钳喙、刀槽、刀刃、缓冲垫、第一回弯块、第二回弯块、竖向转动轴、铰接轴、第一键槽、第二键槽和撑开弹簧;本技术方案将末端回弯钳和末端切断钳整合为一体,通过设置固定末端弓丝预留长度和预设的可调节的末端回弯角度,简化正畸操作,缩短临床操作时间,提高医生工作效率,增加患者舒适度。

























