授权专利
注射压力监测器
公开(公告)号: CN219000878U
摘要附图:

标题: 用于输液港的贴膜
专利类型: 实用新型
申请日: 2022-10-31
公开(公告)日: 2023-05-12
发明人: 李凤仪
当前申请(专利权)人: 首都医科大学附属北京潞河医院
IPC分类号: A61F13/02 | A61M5/158 | A61M5/14
法律状态/事件: 授权
技术功效语段: [0015]本申请提供的技术方案可以包括以下有益效果:一种用于输液港的贴膜,包括贴膜本体,所述贴膜本体上设置有半球形凸起和出管通道,所述半球形凸起内部具有空腔,所述空腔一侧开设有开口,所述开口连通于所述出管通道,所述半球形凸起的边缘和所述出管通道的两侧分别设有支撑体,所述支撑体设置于所述贴膜本体的上表面,所述贴膜本体的下表面设置有粘胶层。本申请能够对输液港专用针和输液港专用针的延长管形成支撑,减小输液港专用针对皮肤的压迫,防止造成患者感染,同时使用方便。 [0016]应当理解的是,以上的一般描述和后文的细节描述仅是示例性和解释性的,并不能限制本申请。
摘要: 本申请涉及一种用于输液港的贴膜,该用于输液港的贴膜包括贴膜本体,所述贴膜本体上设置有半球形凸起和出管通道,所述半球形凸起内部具有空腔,所述空腔一侧开设有开口,所述开口连通于所述出管通道,所述半球形凸起的边缘和所述出管通道的两侧分别设有支撑体,所述支撑体设置于所述贴膜本体的上表面,所述贴膜本体的下表面设置有粘胶层。本申请提供的方案,能够对输液港专用针和输液港专用针的延长管形成支撑,减小输液港专用针对皮肤的压迫,防止造成患者感染,同时使用方便。
公开(公告)号: CN218652654U
摘要附图:

标题: 注射压力监测器
专利类型: 实用新型
申请日: 2022-01-14
公开(公告)日: 2023-03-21
发明人: 王想
当前申请(专利权)人: 首都医科大学附属北京潞河医院
IPC分类号: A61M5/168 | A61M5/00 | A61M5/52
法律状态/事件: 授权
技术功效语段: [0020]该注射压力监测器的放置槽的设计,使用户的手臂能够更好的摆放,弧形板的设计,能够将光纤传感器固定在手臂上方,而底板在弧形板上的可上下运动,能够满足对不同粗细手臂用户的固定,使光纤传感器能够更好的与不同粗细手臂贴合,保证光线传感器的感应灵敏度。 [0021]参照后文的说明和附图,详细公开了本实用新型的特定实施方式,指明了本实用新型的原理可以被采用的方式。应该理解,本实用新型的实施方式在范围上并不因而受到限制。
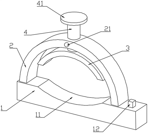
摘要: 本实用新型公开了一种注射压力监测器,包括用于注射时压力监测的光纤传感器,以及用于感应异常数据后自动报警的报警器,其特征在于:还包括用于光纤传感器固定在手部输液位置的固定装置,所述固定装置包括底座和弧形板,所述弧形板可旋转开合的与底座之间连接,所述底座上设有用于手臂放置的放置槽,位于放置槽上方的所述弧形板内设有可上下运动的底板,所述底板底部设有固定连接的纱布层,所述光纤传感器固定设置在纱布层底部,所述光纤传感器底部设有固定连接的纱布层,所述报警器设置在底座上。底板在弧形板上的可上下运动,能够满足对不同粗细手臂用户的固定,使光纤传感器能够更好的与不同粗细手臂贴合,保证光线传感器的感应灵敏度。
公开(公告)号: CN215024102U
摘要附图:
标题: 一种注射压力监测器
专利类型: 实用新型
申请日: 2021-06-01
公开(公告)日: 2021-12-07
发明人: 孙峥
当前申请(专利权)人: 首都医科大学宣武医院
IPC分类号: A61M5/31 | G01L11/00 | G01L19/12
法律状态/事件: 授权
技术功效语段: [0014]1、本实用新型通过测试箱、第一连接带和第二连接带的配合使用可以实现对测试箱的固定,使得测试箱内部的压力监控器贴合在注射处,并且通过压力监控器上的触点可以对注射过程中对注射压力进行实时监控,从而可以通过压力监控器对注射压力进行有效监控报警,避免注射到患者体内的药液压力过大,药液量过多。 [0015]2、本实用新型通过锁定机构可以使得压力监控器与测试箱的内部相贴近,从而使得压力监控器端部上的触点与患者的注射处相贴近,保证压力监控器检测的稳定性。
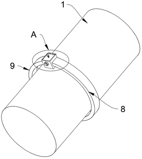
摘要: 本实用新型公开了一种注射压力监测器,包括患者手腕、报警器和测试箱,测试箱设置在患者手腕的外部,报警器安装在测试箱的外部,测试箱内部设置压力测试机构,测试箱的外部开设有固定槽,固定槽的内部滑动连接有闭合板,闭合板的外部开设有锁定槽,锁定槽的内部滑动连接有锁定机构;压力测试机构包括设置在测试箱内部压力监控器,测试箱的外部开设有贯穿槽,压力监控器的端部由测试箱的内部贯穿至测试箱的外部,测试箱内部的压力监控器靠近于注射端,并且通过压力监控器上的触点可以对注射过程中对注射压力进行实时监控,从而可以通过压力监控器对注射管道内部的压力进行有效监控报警,避免注射到患者体内的药液过多。

























