授权专利
一种B超探头激光辅助定位装置
公开(公告)号: CN219021442U
摘要附图:

标题: 一种B超探头激光辅助定位装置
专利类型: 实用新型
申请日: 2022-09-30
公开(公告)日: 2023-05-16
发明人: 李民
当前申请(专利权)人: 首都医科大学附属北京潞河医院
IPC分类号: A61B17/34 | A61B5/00
法律状态/事件: 授权
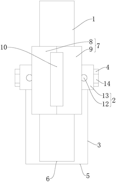
技术功效语段: [0014]显影部和激光发射器能够在滑动组件的作用下沿探头的长度方向移动,保证显影部在探头的影像中也可以移动,同时激光发射器在皮肤上显示的激光射线也可以跟随移动,当显影部在影像中的成像与血管在影像中的成像相交时,此时激光发射器在皮肤上显示的激光射线就为医护人员穿刺的位置,穿刺方向朝向显影部方向且斜向下穿刺,本申请提供的此种B超探头激光辅助定位装置能够在影像中对应好血管位置后,并在皮肤上指示出穿刺线,接近于血管在皮肤表面的投影,使得血管穿刺操作简单易行。 [0015]应当理解的是,以上的一般描述和后文的细节描述仅是示例性和解释性的,并不能限制本申请。
摘要: 本实用新型提供了一种B超探头激光辅助定位装置,涉及医用辅助设备技术领域,解决了现有技术中存在的不能将影像内血管位置指示到表皮上方便医护人员穿刺的技术问题。该B超探头激光辅助定位装置包括滑动组件、显影部以及激光发射器,所述滑动组件设置在探头上,显影部和激光发射器均设置在滑动组件上,激光发射器的激光发射口朝下设置,显影部为线状体,显影部的局部位于探头作用于人体的接触端的下方,且局部垂直于探头长度方向,局部与激光发射器的轴线位于同一平面内。本实用新型用于辅助医护人员穿刺,显影部和激光管发射器可以沿探头移动,并且显影部能够在B超探头的成像中显影,同时激光管发射器照射皮肤表皮上显现激光线。

























