授权专利
一种置管固定防脱落装置
公开(公告)号: CN219090751U
摘要附图:

标题: 一种置管固定防脱落装置
专利类型: 实用新型
申请日: 2022-12-15
公开(公告)日: 2023-05-30
发明人: 张伟
当前申请(专利权)人: 首都医科大学附属北京潞河医院
IPC分类号: A61M25/02 | A61M1/16
法律状态/事件: 授权
技术功效语段: [0016]1、本实用新型中,通过拉动拉杆,可使第二推块压缩第二弹簧,使得两个第一弹簧推动两个第一推块移动,从而使定位件贴服在固定孔内壁,方便置管插入固定孔内,随后放开拉杆,此时第二弹簧因自身弹力推开第二推块,使第二推块与第一推块相撞,使得定位件将置管稳定定位在固定孔内,实现了稳定固定置管的效果。 [0017]2、本实用新型中,通过开启发热电丝,可使发热电丝发热并将热量传递给定位件和保温件,最后将热量传递给置管内血液,实现对血液保温的效果,由于热量经过定位件和保温件才可传递置管,所以温度始终控制在36-38℃。 [0018]3、本实用新型中,通过开启安装架,可使定位架升降,实现升降调节的效果,通过开启气缸,可使齿条带动转轴和定位架转动,即可调节定位架的角度,方便人员使用。
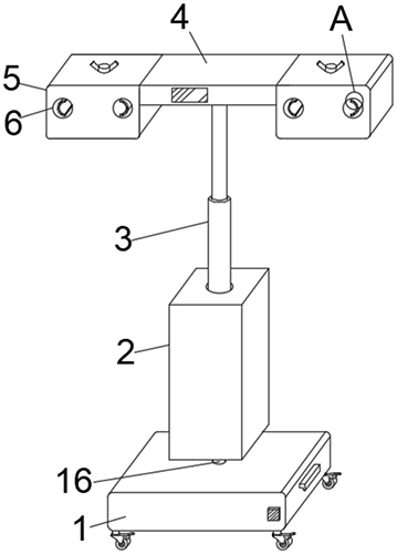
摘要: 本实用新型公开了一种置管固定防脱落装置,涉及血透析辅助器械技术领域,包括底座,所述底座的顶部设置有安装架,所述安装架内镶嵌有电动伸缩杆,所述电动伸缩杆的驱动端设置有固定板,所述固定板的两侧均设置有定位架,所述定位架内开设有两个固定孔,所述定位架内滑动插接有滑杆,所述滑杆的两端分别设置有定位件和第一推块,所述滑杆上套接有第一弹簧,所述定位架内设置有定位组件,所述定位组件与第一推块连接,所述定位组件包括拉杆和第二弹簧,所述拉杆插接在定位架的顶部且底端设置有第二推块。本实用新型,该血透置管固定防脱落装置结构简单,操作方便,实现了稳定固定置管的效果,同时实现了升降和角度调节的效果。

























