授权专利
一种按摩护理装置
公开(公告)号: CN219110111U
摘要附图:

标题: 一种按摩护理装置
专利类型: 实用新型
申请日: 2022-08-12
公开(公告)日: 2023-06-02
发明人: 张伟 | 宋娜
当前申请(专利权)人: 首都医科大学附属北京潞河医院
IPC分类号: A61H7/00 | A61M1/14
法律状态/事件: 授权
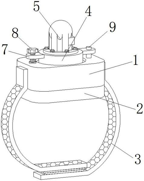
技术功效语段: [0015]将该按摩护理装置通过设于承载块左右两侧的绑扎带安装于手臂上,并使按摩护理机构位于需要进行按摩的位置上,随后启动小型电机,通过菱形的连接杆带动对接杆以及底盘旋转,此时固定连接于对接杆外壁上的安装杆在波浪形的导向槽引导作用下会带动对接杆和底盘往复的升降,能够控制底盘带动按摩凸头进行旋转的同时也能够进行升降的挤压式按摩,按摩效果更好,并且按摩凸头的底部均设有橡胶球,能够提高使用舒适度,进一步提高按摩效果; [0016]当需要对按摩力度进行调控时,只需手动旋转与承载块转动相连的螺纹杆,能够控制固定片带动承载机构和按摩护理机构同步在承载块内部预开设的通孔中升降,通过调节按摩凸头初始位置与患者皮肤之间的间距,能够实现对按摩力度的便捷调整。
摘要: 本实用新型属于护理技术领域,尤其是涉及一种按摩护理装置,包括承载块和小型电机,所述承载块的底部粘贴连接有橡胶软垫,承载块的左右两侧均设有绑扎带,所述承载块的内部安装有承载机构。本实用新型将该按摩护理装置通过设于承载块左右两侧的绑扎带安装于手臂上,并使按摩护理机构位于需要进行按摩的位置上,随后启动小型电机,通过菱形的连接杆带动对接杆以及底盘旋转,此时固定连接于对接杆外壁上的安装杆在波浪形的导向槽引导作用下会带动对接杆和底盘往复的升降,能够控制底盘带动按摩凸头进行旋转的同时也能够进行升降的挤压式按摩,按摩效果更好,并且按摩凸头的底部均设有橡胶球,能够提高使用舒适度,进一步提高按摩效果。

























