授权专利
一种预防和治疗压疮的可视敷料
公开(公告)号: CN219109953U
摘要附图:

标题: 一种预防和治疗压疮的可视敷料
专利类型: 实用新型
申请日: 2022-11-17
公开(公告)日: 2023-06-02
发明人: 张艳杰
当前申请(专利权)人: 首都医科大学附属北京潞河医院
IPC分类号: A61F13/02
法律状态/事件: 授权
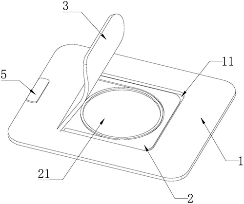
技术功效语段: [0011]其一,现有技术中的防压疮敷料在使用过程中,医务人员如需护理或观察病人的皮肤压疮区域时,需要将整个敷料拆掉,待护理或观察完毕后,因旧的敷料无法重复利用,需将新的敷料重新贴附在病人皮肤上,不仅会增加病人拆掉敷料过程中的疼痛感,还会造成资源浪费,加重患者的经济负担。 [0012]本实用新型在使用时,可将无菌布底部的粘贴涂层与病人皮肤进行贴附,来实现本敷料整体能够固定在病人的皮肤上,再将药物或敷料填入治疗槽内对病人皮肤的压疮区域进行治疗,然后闭合防护层,这时,防护层与阻隔垫之间的魔术贴会相互贴合,并使得防护层能够与无菌布整体形成拼接状态;当需要对病人的压疮皮肤区域进行护理或观察时,可直接掀开防护层,再通过治疗槽对压疮皮肤区域进行护理及观察,通过防护层来对治疗槽进行遮挡的同时也能对药物进行保护,同时,在不需要反复撕开无菌布的情况下,仅通过掀开防护层即可对病人压疮皮肤区域进行护理及观察,不仅能够避免反复撕开无菌布给病人来带的疼痛感,还能解决传统的防压疮敷料撕开后无法正常继续使用的情况,能有效减少资源浪费,减轻患者经济负担。 [0013]其二,本实用新型中防护层和无菌布的上表面均设有橡胶软磁片,由于病人翻身困难,在对病人压疮皮肤区域进行护理及观察时,可掀开防护层并将防护层上的橡胶软磁片与无菌布上的橡胶软磁片相互吸附,使得防护层折叠后能够与无菌布进行固定,这时,防护层不会对治疗槽造成遮挡,进而不会对医务人员的护理及观察过程造成影响。 [0014]其三,本实用新型中阻隔垫上靠近治疗槽的边缘处设有硅胶垫圈,通过设置的硅胶垫圈可对治疗槽区域填入的药物或敷料进行限位,以防止敷料出现外溢情况。
摘要: 本实用新型公开了一种预防和治疗压疮的可视敷料,包括无菌布、阻隔垫和防护层,所述无菌布上设有观察口,且无菌布的底部设有粘贴涂层,所述防护层设置在观察口处,且防护层的一侧与无菌布呈固定连接,所述阻隔垫设置在观察口处且处于防护层的下方,所述阻隔垫与无菌布呈固定连接,且阻隔垫上设有治疗槽,通过防护层来对治疗槽进行遮挡的同时也能对敷料进行保护,同时,在不需要反复撕开无菌布的情况下,仅通过掀开防护层即可对病人压疮皮肤区域进行护理及观察,不仅操作简便,减少敷料的浪费,还能避免反复撕开无菌布给病人带来的疼痛感。

























