授权专利
一种髌骨手术克氏针导向套
公开(公告)号: CN219166605U
摘要附图:

标题: 一种髌骨手术克氏针导向套
专利类型: 实用新型
申请日: 2022-09-30
公开(公告)日: 2023-06-13
当前申请(专利权)人: 首都医科大学附属北京潞河医院
IPC分类号: A61B17/90
法律状态/事件: 授权
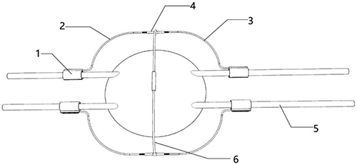
技术功效语段: [0012]本实用新型能够将克氏针导向固定,大小可调节适应不同大小的髌骨,导向套筒可以张开,适应多种粗细的克氏针,且操作简单,方便在手术中使用增加工作效率,减轻多次植入克氏针对病人来带的痛苦。
摘要: 本实用新型提供了一种髌骨手术克氏针导向套,其特征在于,包括导向套筒、第一连接杆、第二连接杆、调节筒和克氏针,所述导向套筒有两个,分别和所述第一连接杆和所述第二连接杆固定连接,所述导向套筒分为两部分,一部分为活动套筒、另一部分为固定套筒,所述活动套筒和所述固定套筒之间通过三个连接杆连接,且所述活动套筒和所述固定套筒可以分离;所述第一连接杆和所述第二连接杆之间用所述调节筒连接,所述第一连接杆和所述第二连接杆的连接处,设有外螺纹,两段外螺纹方向相反,所述调节筒内设有两端方向相反的内螺纹;本实用新型能够将克氏针导向固定,大小可调节适应不同大小的髌骨,导向套筒可以张开,适应多种粗细的克氏针。

























