授权专利
一种阴道冲洗器
公开(公告)号: CN219167292U
摘要附图:

标题: 一种阴道冲洗器
专利类型: 实用新型
申请日: 2022-12-14
公开(公告)日: 2023-06-13
发明人: 南贤秀
当前申请(专利权)人: 首都医科大学附属北京潞河医院
IPC分类号: A61M3/02
法律状态/事件: 授权
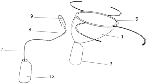
技术功效语段: [0008]本实用新型设有收集袋可以收集冲洗后的水,设有的冲洗棒上设有小孔,可以做到对阴道内的全方位冲洗,设有的控流压键可以控制流向冲洗棒内液体的流量大小,可以避免液体流量过大而损伤到阴道内部,设有的引流通道用固定带在固定在大腿上,便于通过冲洗后液体进入收集袋中,集水袋内部容量足够一次冲洗的用水量。
摘要: 本实用新型涉及医疗辅助用具技术领域,具体地说,涉及一种阴道冲洗器,包括引流通道、通孔、集水袋、固定带、魔术贴、软质垫圈、连接管、控流压键、冲洗棒和引流袋,所述引流通道的大口径上设有所述软质垫圈,所述引流通道的小口径接有所述集水袋,所述软质垫圈上设有所述固定带;本实用新型设有收集袋可以收集冲洗后的水,设有的冲洗棒上设有小孔,可以做到对阴道内的全方位冲洗,设有的控流压键可以控制流向冲洗棒内液体的流量大小,可以避免液体流量过大而损伤到阴道内部,设有的引流通道用固定带在固定在大腿上,便于通过冲洗后液体进入收集袋中,集水袋内部容量足够一次冲洗的用水量。

























