授权专利
一种叩诊锤
公开(公告)号: CN219461213U
摘要附图:

标题: 一种叩诊锤
专利类型: 实用新型
申请日: 2023-06-08
公开(公告)日: 2023-08-04
发明人: 张玲俐
当前申请(专利权)人: 首都医科大学附属北京潞河医院
IPC分类号: A61B9/00
法律状态/事件: 授权
技术功效语段: -
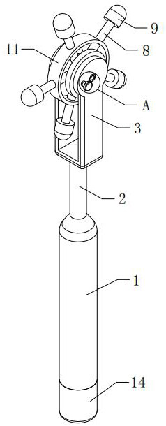
摘要: 本实用新型提供了一种叩诊锤,包括:手柄、叩诊组件以及锁紧组件。手柄的一端固定安装有连接杆,连接杆远离手柄的一端固定安装有U形固定架;叩诊组件包括转轴、圆柱形连接座以及安装杆,转轴转动安装在U形固定架的两侧壁之间,圆柱形连接座固定套装在转轴上,安装杆至少设置有三个,且安装杆均安装在圆柱形连接座的圆柱面上,安装杆围绕圆柱形连接座呈环向等角度布置,每个安装杆远离圆柱形连接座的一端均安装有叩诊锤头,叩诊锤头的大小均不相同;锁紧组件包括锁紧圆盘以及锁紧螺栓。本实用新型提供的叩诊锤主要由手柄、叩诊组件以及锁紧组件组成,可以方便快捷地切换不同大小的叩诊锤头,使用比较方便。

























