授权专利
一种外耳道冲洗装置
公开(公告)号: CN219462114U
摘要附图:

标题: 一种外耳道冲洗装置
专利类型: 实用新型
申请日: 2023-04-12
公开(公告)日: 2023-08-04
发明人: 朱丽娜
当前申请(专利权)人: 首都医科大学附属北京潞河医院
IPC分类号: A61M3/02
法律状态/事件: 授权
技术功效语段: [0012]1、该外耳道冲洗装置,通过吸水泵、风箱和海绵环的配合使用,在冲洗完成后可以利用风箱产生风力,用于吹干耳道内残留的水份,吸水泵和风箱由控制器控制,在把控上十分有力,冲洗完成后的清理工作也十分的便利,对于一些顽固的耵聍可以在打湿后利用海绵环进行清理,对于耳道的清洗十分便利,也十分简便。 [0013]2、该外耳道冲洗装置,通过利用握把和水罩的使用,在对于患者手托弯盘容易造成患者手臂酸痛而且带污物的冲洗液容易弄湿患者衣物造成不卫生,水罩在使用时会接住污水,不会弄湿患者衣物造成不卫生,医院使用的手动推进注射器活塞或者手动挤压冲耳球进行冲洗会给医务人员带来负担,握把的使用就可以极大程度的减轻了医务人员的负担,也使患者可以有效的了解自己的情况。
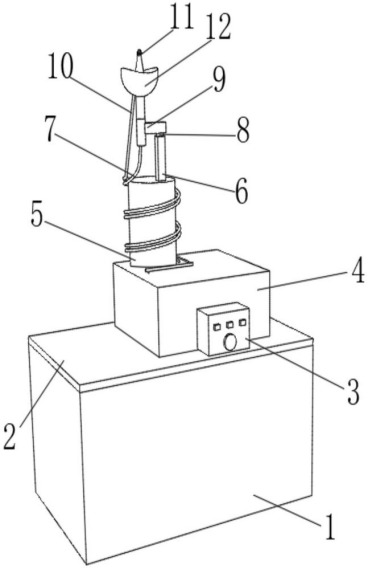
摘要: 本实用新型公开了一种外耳道冲洗装置,涉及耳道冲洗技术领域,包括盒体和缠绕柱,所述缠绕柱外侧缠绕有第一通水管和排污管,所述第一通水管一端固定连接有支撑杆,所述支撑杆上端固定安装有水罩,所述支撑杆顶部且位于水罩内部设置有清洁头,所述支撑杆底部外侧固定安装有握把,所述握把底部开设有滑动槽,所述握把通过滑动槽滑动连接有滑块,所述滑块底部固定安装有立杆,所述立杆固定安装在缠绕柱的顶部,本实用新型的有益效果为:不会弄湿患者衣物造成不卫生,此装置的使用可以极大程度的减轻了医务人员的负担,也使患者可以更直观的把控自己的冲洗情况。

























