授权专利
护理辅助换药支架
公开(公告)号: CN219721150U
摘要附图:

标题: 护理辅助换药支架
专利类型: 实用新型
申请日: 2023-02-22
公开(公告)日: 2023-09-22
发明人: 闫雯丽
当前申请(专利权)人: 首都医科大学附属北京潞河医院
IPC分类号: A61G12/00 | A61L2/10
法律状态/事件: 授权
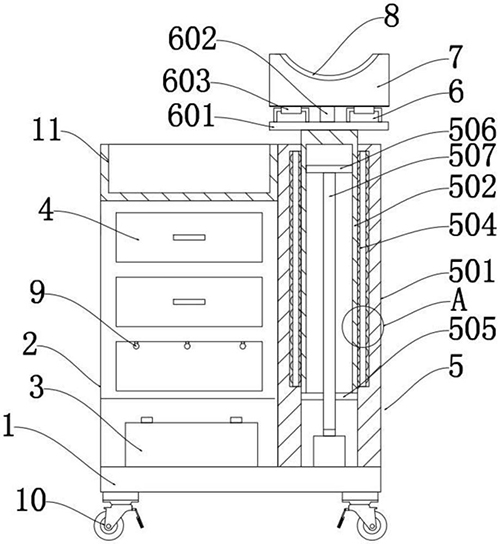
技术功效语段: [0015]本实用新型的护理辅助换药支架,通过设置的升降机构,可以使支撑块升降,能够根据不同患者情况将支撑块调节到适合患者换药包扎的高度,增强了灵活性,通过设置的旋转机构,患者肢体放在支撑块上可以任意角度旋转,长时间换药时,使患者肢体可以得到活动,使患者找到舒适的角度,提高了使用便利性。
摘要: 本实用新型公开了护理辅助换药支架,其特征在于,包括底座,所述底座上设有箱体,所述箱体内设有蓄电池,所述蓄电池上方设有抽屉,所述箱体顶部设有换药盘,所述箱体一侧设有升降机构,所述升降机构上方设有旋转机构,所述旋转机构上方设有支撑块,所述支撑块顶部设有海绵垫。本实用新型的护理辅助换药支架,通过设置的升降机构,可以使支撑块升降,能够根据不同患者情况将支撑块调节到适合患者换药包扎的高度,增强了灵活性,通过设置的旋转机构,患者肢体放在支撑块上可以任意角度旋转,提高了使用便利性。

























