授权专利
一种肌少症抗阻运动用弹力装置
公开(公告)号: CN219721809U
摘要附图:

标题: 一种肌少症抗阻运动用弹力装置
专利类型: 实用新型
申请日: 2023-02-17
公开(公告)日: 2023-09-22
发明人: 付颖
当前申请(专利权)人: 首都医科大学附属北京潞河医院
IPC分类号: A63B21/055 | A63B23/12
法律状态/事件: 授权
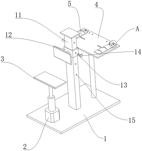
技术功效语段: [0011]1.本实用新型通过设有的液压伸缩杆的输出端能够带动坐垫调整到合适的高度,移动板在滑槽内滑动,能够带动一侧固定连接的固定板在固定台的上端移动,移动到合适位置后,向一侧转动第一紧固螺栓,第一紧固螺栓能够和第一螺纹孔螺纹连接,能够调整到适合患者锻炼双手的位置,具有更好的实用性。 [0012]2.本实用新型通过设有的滑动套在滑杆上滑动,将滑动套移动到合适位置,然后将第二螺纹孔和第三螺纹孔对齐,向一侧转动第二紧固螺栓,使得第二紧固螺栓和第二螺纹孔、第三螺纹孔螺纹连接,能够将滑动套固定,使患者的胸部推动胸阻板,也是起到一个阻力运动的作用。
摘要: 本实用新型涉及康复治疗技术领域,且公开了一种肌少症抗阻运动用弹力装置,包括基板,所述基板的上端固定连接有液压伸缩杆,所述液压伸缩杆的输出端固定连接有坐垫,所述基板的上端设置有固定台,所述固定台的上端对称开设有滑槽,所述滑槽内滑动连接有移动板,所述移动板的一侧固定连接有固定板,所述固定板上贯穿有螺纹连接的第一紧固螺栓,所述固定台的上端对称开设有多个第一螺纹孔,所述移动板的上端固定连接有多个弹力带,所述基板的上端固定连接有滑杆,所述滑杆的外侧滑动连接有滑动套,所述滑动套的一侧开设有第二螺纹孔,所述滑杆的一侧开设有多个第三螺纹孔,通过上述结构,能够调整到适合患者锻炼双手的位置。

























