授权专利
一种避免肌瘤播撒的子宫肌瘤取出装置
公开(公告)号: CN221691218U
摘要附图:

标题: 一种避免肌瘤播撒的子宫肌瘤取出装置
专利类型: 实用新型
申请日: 2023-11-09
公开(公告)日: 2024-09-13
申请号: CN202323021271.9
发明人: 杨一凡 | 黄晓武 | 赵玉婷 | 徐若男
当前申请(专利权)人: 首都医科大学附属北京潞河医院
IPC分类号: A61B17/42 | A61B17/28 | A61M31/00 | A61M3/02 | A61B17/3205
法律状态/事件: 授权
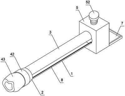
技术功效语段: [0043]1、本实用新型通过贯穿开设的孔洞可以使医护人员将粉碎刀具通过连接座伸入并直达患者病灶,并且通过皮套将第一钳杆和第二钳杆的末端与气囊环相连接,可以做到在便于第一钳杆和第二钳杆开合的同时,整个取出装置内部为密闭状态,从而避免在手术过程中肌瘤从装置中散落,造成复发,为手术过程提供了安全性及便利性,并且通过转动螺丝会使其下降或抬升,从而控制第二钳杆的开合,从而便于手术完成后对管道内壁的清洁以及消毒,并且通过螺丝的挤压,会使第一钳杆和第二钳杆之间贴合更加紧密,进一步确保了手术过程中肌瘤不会发生外泄。[0044]2、本实用新型通过软垫可以实现第一钳杆和第二钳杆的密封连接,从而形成一个密闭的管道,并且乳胶材质的软垫可以避免在与患者身体接触时造成过敏现象,保护了患者的安全,预防了肌瘤的播撒,减小复发的可能性,并且通过气泵的运作,会使气体通过气管运输气囊环当中,从而对充气袋进行充气,使其膨胀成一个中空的喇叭状的密封罩,从而确保在包裹住肌瘤的同时整个设备外部为密封,内部为中空管道的状态,从而用现有技术的刀具组对其进行切除,避免在手术时发生扩散。
摘要: 本实用新型提供了一种避免肌瘤播撒的子宫肌瘤取出装置,包括:第一钳杆、设置在第一钳杆上方的第二钳杆、设置在第一钳杆和第二钳杆一侧的气囊环和设置在第一钳杆和第二钳杆另一侧的连接座;第一钳杆与第二钳杆相对设置,第一钳杆和第二钳杆中间设置有软垫;第一钳杆与第二钳杆中间形成密闭的管道;第一钳杆与第二钳杆的一侧均通过皮套与气囊环连接;第一钳杆与第二钳杆的另一侧均设置在连接座的孔洞内;孔洞内设置有弹簧,弹簧顶部与所述第二钳杆右端面接触。本实用新型确保肌瘤取出时在患者体内全程为密闭状态,保护了患者的安全,预防了肌瘤的播撒,减小复发的可能性。

























