授权专利
一种急诊科用便携式急诊箱
公开(公告)号: CN221672351U
摘要附图:

标题: 一种急诊科用便携式急诊箱
专利类型: 实用新型
申请日: 2023-12-29
公开(公告)日: 2024-09-10
申请号: CN202323649090.0
发明人: 刘立
当前申请(专利权)人: 首都医科大学附属北京潞河医院
IPC分类号: A61F17/00 | A61B50/31
法律状态/事件: 授权
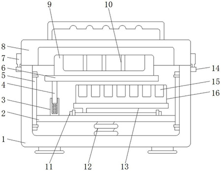
技术功效语段: [0013]1、该急诊科用便携式急诊箱安装有伸缩套管、支撑杆、第一伸缩弹簧和第二伸缩弹簧,将急诊箱箱盖从急诊箱箱体上方打开时,第一伸缩弹簧可推动升降板移动,且第二伸缩弹簧通过支撑杆推动安装板移动,可将医疗物品放置盒和药瓶放置盒同时从急诊箱箱体内部推出,从而便于医务人员查找并取放药品;[0014]2、该急诊科用便携式急诊箱安装有医疗物品放置盒、隔板和药瓶放置盒,使用时,可将医疗物品放置于医疗物品放置盒内部,并可通过隔板将不同的医疗物品隔开,且医务人员可将药瓶放置于药瓶放置槽内部,从而便于将医疗物品和药品分类放置;[0015]3、该急诊科用便携式急诊箱安装有第二滑动组件和托板,携带急诊箱箱体时,滑动药瓶放置盒,将药瓶放置盒移动至安装板的下方,通过安装板遮挡住药瓶放置槽,可防止药瓶从药瓶放置槽内部掉落,使用时,可移动药瓶放置盒,将药瓶放置盒从安装板下方移出,从而便于医务人员取出药瓶放置槽内部的药瓶。
摘要: 本实用新型公开了一种急诊科用便携式急诊箱,包括急诊箱箱体、急诊箱箱盖、医疗物品放置盒和药瓶放置盒,所述急诊箱箱体的顶部安装有急诊箱箱盖,且急诊箱箱体内部的两端皆安装有第一滑动组件,所述第一滑动组件的内侧滑动安装有升降板,且升降板顶部的一端安装有第二滑动组件,所述第二滑动组件的顶部滑动安装有托板。本实用新型安装有伸缩套管、支撑杆、第一伸缩弹簧和第二伸缩弹簧,将急诊箱箱盖从急诊箱箱体上方打开时,第一伸缩弹簧可推动升降板移动,且第二伸缩弹簧通过支撑杆推动安装板移动,可将医疗物品放置盒和药瓶放置盒同时从急诊箱箱体内部推出,从而便于医务人员查找并取放药品。

























