授权专利
一种消毒帽
公开(公告)号: CN221655405U
摘要附图:

标题: 一种消毒帽
专利类型: 实用新型
申请日: 2023-11-16
公开(公告)日: 2024-09-06
申请号: CN202323095801.4
发明人: 李瑾 | 李霞
当前申请(专利权)人: 首都医科大学附属北京潞河医院
IPC分类号: A61M5/14 | A61L2/18 | A61L2/26 | A61M39/20 | A61M39/16 | A61L101/34
法律状态/事件: 授权
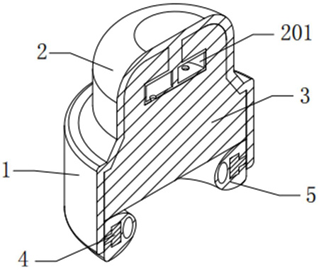
技术功效语段: [0021]本实用新型提供的消毒帽,设置的T形定位块用于对浸有70%异丙醇的海绵消毒块进行定位,可有效防止海绵消毒块从消毒帽体的内部掉落而影响使用,设置的环形固定气囊用于将该消毒帽固定在无针输液接头上,由于环形固定气囊的固定范围较大,因此,使得该消毒帽可以配套多种型号的无针输液接头使用,实用性较好。
摘要: 本实用新型提供了一种消毒帽,包括:消毒帽体、浸有70%异丙醇的海绵消毒块、环形卡座以及环形固定气囊,消毒帽体的一端一体设有顶盖,且消毒帽体的另一端为开口端,且顶盖的内部固定安装有T形定位块;浸有70%异丙醇的海绵消毒块安装在消毒帽体的内部,且海绵消毒块的一端伸入顶盖的内部,并卡接在T形定位块上。本实用新型提供的消毒帽,设置的T形定位块用于对浸有70%异丙醇的海绵消毒块进行定位,可有效防止海绵消毒块从消毒帽体的内部掉落而影响使用,设置的环形固定气囊用于将该消毒帽固定在无针输液接头上,由于环形固定气囊的固定范围较大,因此,使得该消毒帽可以配套多种型号的无针输液接头使用,实用性较好。

























