授权专利
激光夹石篮
公开(公告)号: CN221654555U
摘要附图:

标题: 激光夹石篮
专利类型: 实用新型
申请日: 2023-11-14
公开(公告)日: 2024-09-06
申请号: CN202323067131.5
当前申请(专利权)人: 首都医科大学附属北京潞河医院
IPC分类号: A61B18/26
法律状态/事件: 授权
技术功效语段: [0014]本申请提供的技术方案可以包括以下有益效果:通过拉丝穿过夹臂,在碎石时可以通过夹臂和拉丝围住结石,从而对结石进行定位,利用驱动机构拉动夹臂合拢,夹臂可以及时抓取碎石,操作方便快捷,降低了激光误伤患者黏膜的风险,提高了手术的效率。[0015]应当理解的是,以上的一般描述和后文的细节描述仅是示例性和解释性的,并不能限制本申请。
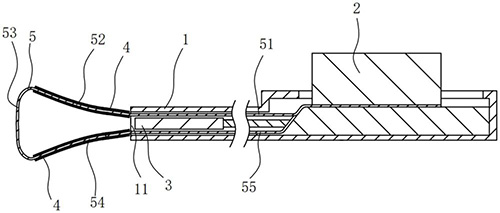
摘要: 本申请涉及一种激光夹石篮。该激光夹石篮包括鞘管、驱动机构、激光头、三个夹臂以及三条拉丝;鞘管设有开口;驱动机构安装于鞘管;激光头位于鞘管内,激光头朝向开口;夹臂位于鞘管外,三个夹臂绕鞘管中心轴间隔分布,夹臂为管状;拉丝包括依次连接第一延伸段,第一段,伸展段和第二段,第二延伸段,第一延伸段和第二延伸段位于鞘管内,第一段穿过其中一个夹臂,第二段穿过另一个夹臂,伸展段位于夹臂远离鞘管的一侧,第一延伸段的一端和第二延伸段的一端与驱动机构相连,驱动机构通过拉动第一延伸段和第二延伸段,以使夹臂远离鞘管的一端往鞘管中心轴收拢。本申请提供的方案,能够对准结石进行碎石并取走碎石。

























