授权专利
一种伤口护理辅助换药托架
公开(公告)号: CN221229567U
摘要附图:

标题: 一种伤口护理辅助换药托架
专利类型: 实用新型
申请日: 2023-10-19
公开(公告)日: 2024-06-28
申请号: CN202322810257.0
发明人: 朱欢欢 | 吕绍楠 | 陆娴 | 徐苑晴
当前申请(专利权)人: 首都医科大学附属北京潞河医院
IPC分类号: A61G12/00
法律状态/事件: 授权
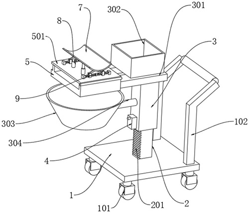
技术功效语段: [0016](1)本实用新型通过设置升降装置,解决现有换药托架不方便调节高度的问题,按压按钮可以使锁定块从齿槽中滑出,抬起套杆到合适高度,随后松开按钮,复位弹簧会推动按钮复位并使锁定块卡接齿槽,使套杆固定在支撑柱上,进而实现托架高度的调节。[0017](2)本实用新型通过设置调节装置,解决了现有换药托架无法调节角度的问题,电机可以使连接槽在水平方向运动,进而使传动杆推动转板,使其角度发生改变。[0018](3)本实用新型通过设置缓冲装置,解决了现有换药托架无法为患者肢体提供缓冲的问题,病人肢体放在支撑板上时,支撑板将压力传导给缓冲装置,缓冲装置内的缓冲弹簧将一部分压力吸收,减少患者肢体受到的力,使患者更加舒适。
摘要: 本实用新型公开了一种伤口护理辅助换药托架,包括底座,底座底端四角均设有万向轮,底座上端一侧设有把手,底座上端设有支撑柱,支撑柱一侧表面设有齿槽,支撑柱上部表面套接有套杆,套杆一侧设有升降装置,套杆上端设有支架,支架上端设有储药盒,支架一端连接有U形板,U形板上端转动连接有转板,U形板与转板之间设有调节装置,转板上方设有支撑板,支撑板两侧底端均设有伸缩杆,伸缩杆底端固定连接转板,支撑板两端下方均设有缓冲装置,U形板下方设有收集罩,收集罩一侧连接有连接柱,连接柱一端固定连接套杆,本实用新型公开的一种伤口护理辅助换药托架不仅方便调节高度,能调节角度,而且更加舒适。

























