授权专利
雾化装置
公开(公告)号: CN221181288U
摘要附图:

标题: 雾化装置
专利类型: 实用新型
申请日: 2023-09-14
公开(公告)日: 2024-06-21
申请号: CN202322503207.8
发明人: 郭华征 | 刘悦 | 沈宝征 | 胡明
当前申请(专利权)人: 首都医科大学附属北京潞河医院
IPC分类号: A61M16/04 | A61M11/00 | A61M16/16
法律状态/事件: 授权
技术功效语段: [0017]本申请提供的技术方案可以包括以下有益效果:通过输液装置向入液口输送液体,液体由入液口进入输液通道并从出液口流出至限位件的滑槽内,然后由滑槽流入瓶体的腔室,当瓶体腔室的液面上升至浮动件时,浮动件会在浮力作用下在滑槽内上升,直至浮动件封堵出液口,此时出液口不会继续向瓶体内加液体;随着雾化的进行,瓶体内的液面高度会逐渐下降,浮动件也会随之下降并打开出液口,使出液口继续向瓶体内加入液体;如此反复循环,使输液装置可持续性地、自动且有间隔地向瓶体内加液,因此不需要医护人员频繁地向瓶体添加液体,减轻了医护人员的工作负担,提高了患者的舒适感。[0018]应当理解的是,以上的一般描述和后文的细节描述仅是示例性和解释性的,并不能限制本申请。
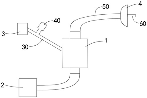
摘要: 本申请涉及一种雾化装置。该雾化装置包括:瓶体、输气装置、输液装置和面罩;所述瓶体的下端设有进气口,所述瓶体的上端设有出气口,所述输气装置与所述进气口连通,所述面罩与所述出气口连通;所述瓶体内设有输液通道,所述输液通道的一端设有位于所述瓶体上的入液口,所述输液通道的另一端设有位于所述瓶体内的出液口,所述输液通道位于所述出液口的一端设有限位件,所述限位件设有滑槽,所述滑槽内设有浮动件;所述输液装置与所述入液口连通,所述浮动件能够沿所述滑槽上下滑动,以封堵所述出液口或打开所述出液口。本申请提供的方案,能够减少医护人员添加液体的操作频率,减轻医护人员的工作负担,提高患者的舒适感。

























